EasyManua.ls Logo

Lifetime 60351 - Page 21

Lifetime 60351
104 pages
Print Icon
To Next Page IconTo Next Page
To Next Page IconTo Next Page
To Previous Page IconTo Previous Page
To Previous Page IconTo Previous Page
Loading...
21
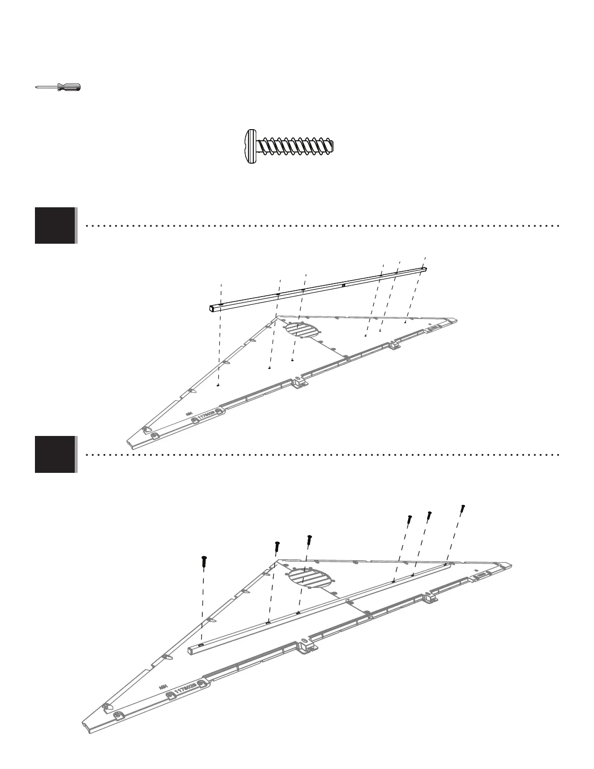
TOOLS AND PARTS REQUIRED / OUTILS ET QUINCAILLERIE REQUIS / INSTRUMENTAL Y HERRAJE REQUERIDOS
X SECTION 3 (CONTINUED) / SECTION 3 (SUITE) / SECCIÓN 3 (CONTINUACIÓN)
• Align the holes in the Tube with those in the Gable.
• Alignez les trous dans le Tube avec ceux du Pignon.
• Alinee los agujeros en el Tubo con ellos en la Fachada.
• Secure with the hardware provided.
• Fixer les uns aux autres en utilisant la quincaillerie incluse.
• Fijar los unos a los otros usando el herraje incluido.
3.6
3.7
ADV
ADVADV
ADV
ADV
ADV
ADV (x6)

Related product manuals