EasyManua.ls Logo

Lucent DDM-2000 OC-3 - Page 1077

Lucent DDM-2000 OC-3
1224 pages
Print Icon
To Next Page IconTo Next Page
To Next Page IconTo Next Page
To Previous Page IconTo Previous Page
To Previous Page IconTo Previous Page
Loading...
DLP-553: Detailed Level Procedure 363-206-285
Page 5 of 20 Issue 2, February 2000
DDM-2000 OC-3 MULTIPLEXER
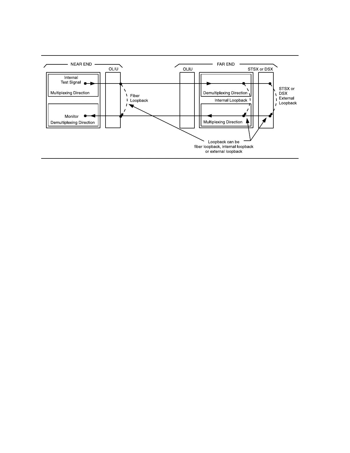
Figure 1 Transmission Test of DS3 Signal in MUX Direction
8. Was the test successful (error free)?
If YES, then continue with Step 12.
If NO, then proceed to Step 37.
9. See Figure 2. At the near-end DSX-3 cross-connection associated with the
DDM-2000 being tested, connect a patch cord from the OUT jack to the IN jack
for the DS3 channel to be tested.
10. Use the following command to perform a DS3 transmission test in the demux
direction to test the DS3 loop in the DSX direction:
test-trmsn-t3:address:dirn=demux:dur=( );
Where address = address identifier of the DS3 signal.
dirn = direction of the test. If dirn=demux, direction is
toward DSX.
dur = duration of the test in minutes (1-120), default is 1.
11. Was the test successful (error free)?
If YES, then continue with Step 12.
If NO, then proceed to Step 37.