EasyManua.ls Logo

Lucent DDM-2000 OC-3 - Page 69

Lucent DDM-2000 OC-3
1224 pages
Print Icon
To Next Page IconTo Next Page
To Next Page IconTo Next Page
To Previous Page IconTo Previous Page
To Previous Page IconTo Previous Page
Loading...
363-206-285 System Turnup/Circuit Order: IXL-001
Issue 3, June 2001 Page 21 of 44
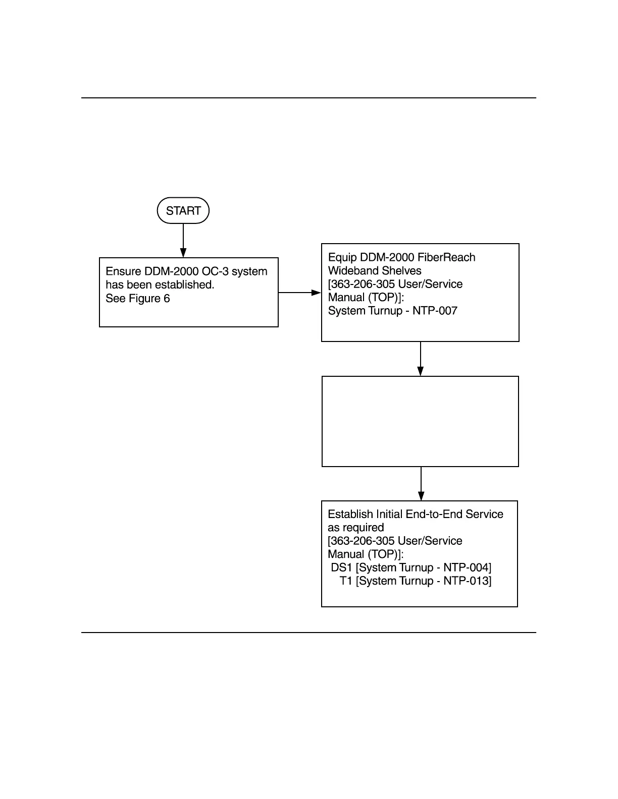
DDM-2000 OC-3 MULTIPLEXER
Figure 12 DDM-2000/FT-2000 Large Network Configurations Dual Homed
FiberReach Access via DDM-2000 OC-3 or OC-12 Backbone Ring
Establish Dual-Homed FiberReach Access
DDM-2000 OC-3 or OC-12 Backbone Ring
See Figure 13
via
Establish Dual-Homed FiberReach
Access via DDM-2000 OC-3 or
OC-12 Backbone Ring
[363-206-285 User/Service Manual,
Volume 2 (TOP)]: System Turnup -
NTP-044