EasyManua.ls Logo

Lucent DDM-2000 OC-3 - Page 85

Lucent DDM-2000 OC-3
1224 pages
Print Icon
To Next Page IconTo Next Page
To Next Page IconTo Next Page
To Previous Page IconTo Previous Page
To Previous Page IconTo Previous Page
Loading...
363-206-285 System Turnup/Circuit Order: IXL-001
Issue 3, June 2001 Page 37 of 44
DDM-2000 OC-3 MULTIPLEXER
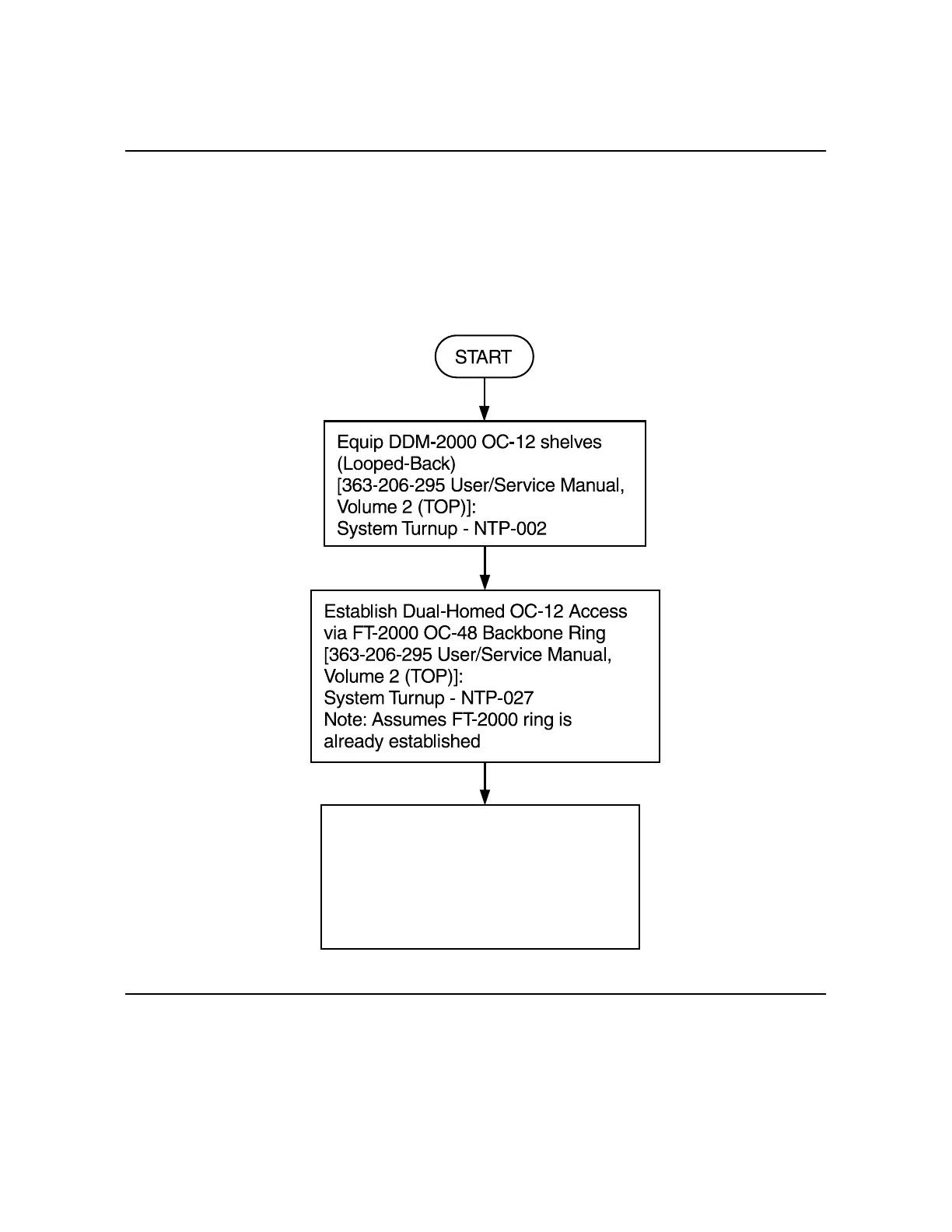
Figure 28 DDM-2000/FT-2000 Large Network Configurations Dual-Homed
OC-12 Access via FT-2000 OC-48 Backbone Ring
Establish Dual-Homed OC-12 Access
via FT-2000 OC-48 Backbone Ring
See Figure 29
Establish Initial End-to-End Service
as required
[363-206-295 User/Service Manual,
Volume 2 (TOP)]:
DS3 [System Turnup - NTP-018]
EC-1 [System Turnup - NTP-024]