EasyManua.ls Logo

Lucent DDM-2000 OC-3 - Page 87

Lucent DDM-2000 OC-3
1224 pages
Print Icon
To Next Page IconTo Next Page
To Next Page IconTo Next Page
To Previous Page IconTo Previous Page
To Previous Page IconTo Previous Page
Loading...
363-206-285 System Turnup/Circuit Order: IXL-001
Issue 3, June 2001 Page 39 of 44
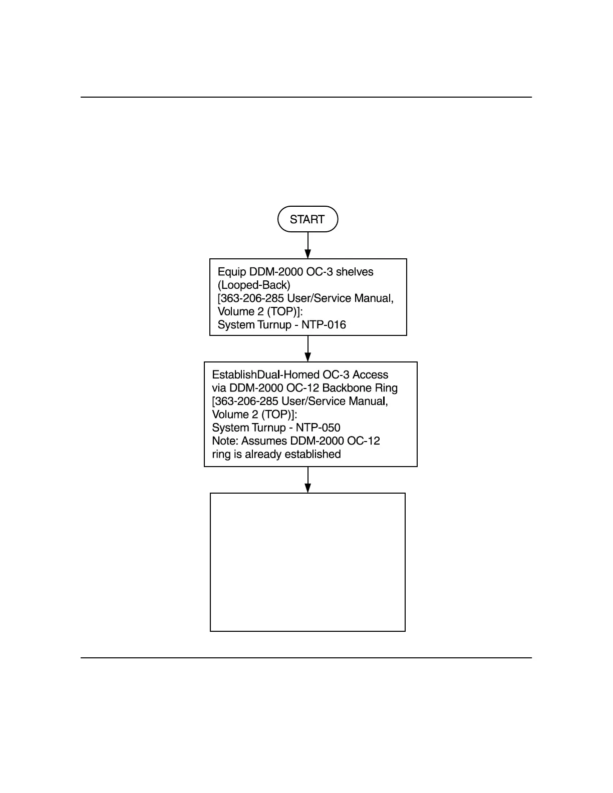
DDM-2000 OC-3 MULTIPLEXER
Figure 30 DDM-2000/FT-2000 Large Network Configurations Dual-Homed
OC-3 Access via DDM-2000 OC-12 Backbone Ring
Establish Dual-Homed OC-3 Access
via DDM-2000 OC-12 Backbone Ring
See Figure 31
Establish Initial End-to-End Service
as required
[363-206-285 User/Service
Manual, Volume 2 (TOP)]:
DS1 [System Turnup - NTP-004]
DS3 [System Turnup - NTP-005]
EC-1 [System Turnup - NTP-034]
HDSL [System Turnup - NTP-003]
LAN [System Turnup - NTP-028]
T1 [System Turnup - NTP-033]