EasyManua.ls Logo

Lunar Venus - Water System

Lunar Venus
98 pages
Print Icon
To Next Page IconTo Next Page
To Next Page IconTo Next Page
To Previous Page IconTo Previous Page
To Previous Page IconTo Previous Page
Loading...
SERVICES
32
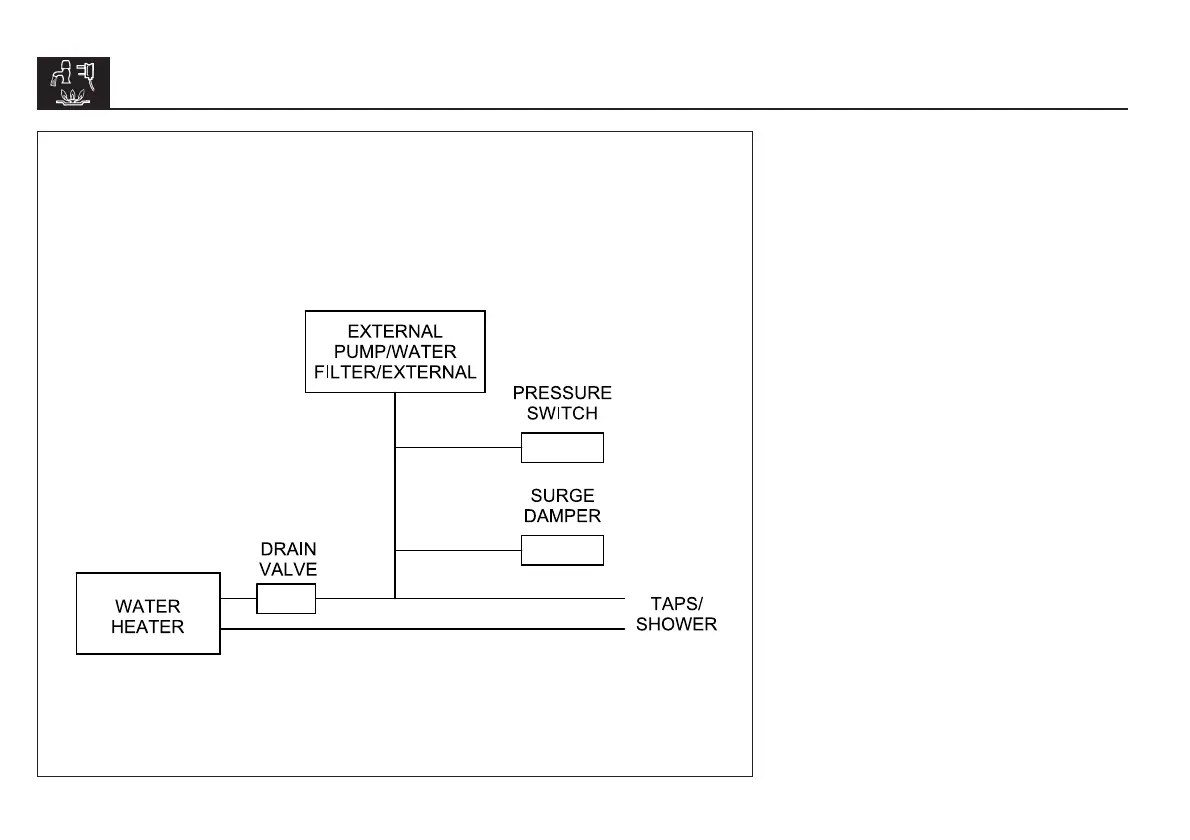
Surge Damper
The surge damper prevents water hammer
and also reduces switch hunting on and off.
The surge damper is a completely sealed
unit and requires no servicing, however, as
with water systems, the complete system
should be drained in the winter.
The Filter
The filter attaches directly to the pump and
incorporates a non- return valve designed to
prevent dirt and grit from entering the pump
valves as this will cause pump failure. The
filter is fitted during installation to protect the
pump.
Pressure Switch
The pressure switch is operated by the
opening and closing of the taps/shower.
When a tap is opened the pressure in the
system is altered which activates the
pressure switch supplying power to the
selected pump.
STANDARD WATER SYSTEM

Related product manuals