EasyManua.ls Logo

M2 KT36XA - Page 10

M2 KT36XA
20 pages
Print Icon
To Next Page IconTo Next Page
To Next Page IconTo Next Page
To Previous Page IconTo Previous Page
To Previous Page IconTo Previous Page
Loading...
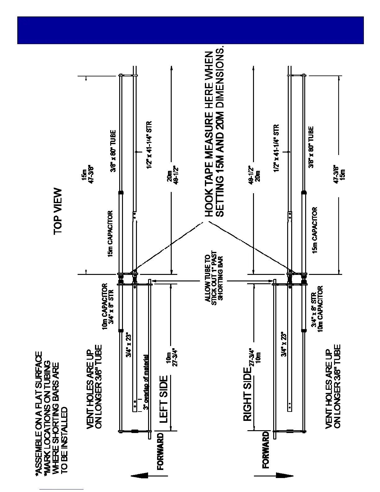
REAR DRIVEN ELEMENT DIMENSIONS