EasyManua.ls Logo

M2 KT36XA - Page 14

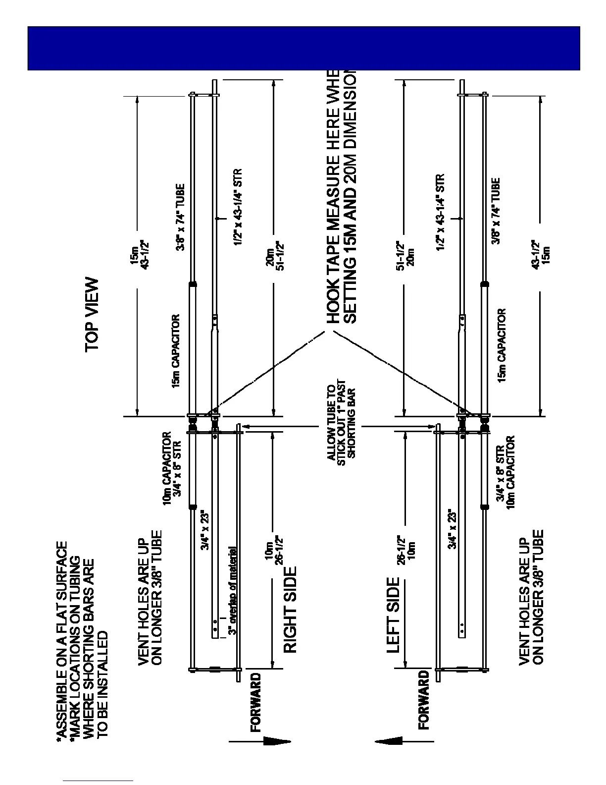
M2 KT36XA
20 pages
Print Icon
To Next Page IconTo Next Page
To Next Page IconTo Next Page
To Previous Page IconTo Previous Page
To Previous Page IconTo Previous Page
Loading...
3RD DIRECTOR ELEMENT DIMENSIONS