EasyManua.ls Logo

Mag-Torch MT450 - Page 7

Mag-Torch MT450
8 pages
Print Icon
To Next Page IconTo Next Page
To Next Page IconTo Next Page
To Previous Page IconTo Previous Page
To Previous Page IconTo Previous Page
Loading...
ENG
FRA
ESP
POR
DANGER
DANGER
PELIGRO
PERIGO
FIRE
INCENDIE
FUEGO
INCÊNDIO
EXPLOSION
EXPLOSION
EXPLOSIÓN
EXPLOSÃO
FUMES
VAPEURS
VAPORES
VAPORES
Instruction Manual
1
1
1
2
1
3
1
4
ATENÇÃO: Este produto pode causar exposição a produtos químicos como o chumbo, conhecido no Estado da Califórnia por
causar defeitos congênitos ou danos reprodutivos. Para obter mais informações, acesse www.P65Warnings.ca.gov. Lave as mãos
após o manuseio.
Tome precauções para não aquecer o tanque de combustível.
Não exponha o maçarico ou combustível a temperaturas que excedam 49 °C/120 °F ou à luz do sol de maneira prolongada.
Nunca use o maçarico próximo a vapores, líquidos inflamáveis ou materiais explosivos.
Nunca fure o tanque de combustível ou exponha o maçarico ao fogo.
Não inale gás, fumaça, vapores ou borrifos. Se inalados, remova a pessoa afetada para uma área ao ar livre.
Evite contato com os olhos ou a pele. No caso de contato com os olhos, enxágue imediatamente com bastante água e procure um médico.
No caso de contato com a pele, lave com bastante água.
Não modifique o maçarico de forma alguma. Não altere os ajustes de fábrica. Alterações nos ajustes de fábrica ou modificação das peças
instaladas na fábrica pode causar acidente pessoal grave ou morte. Use sempre as peças de reposição recomendadas pelo fabricante.
AVISOS DE ATENÇÃO
Mantenha o maçarico longe do alcance de crianças e de pessoas que não tenham lido as instruções de uso. Não aponte o maçarico em
direção ao rosto, outras pessoas ou objetos inflamáveis. Nunca use o maçarico para acender cigarros.
Use sempre proteção para os olhos e luvas quando estiver acendendo e usando o maçarico.
Para evitar risco de dano ao maçarico, proteja sempre o maçarico de impacto e nunca o deixe cair no chão ou em superfícies duras. Nunca
use um maçarico que aparente estar danificado. Não tente fazer reparos.
Teste se há vazamento na conexão ao cilindro antes do uso. Não verifique se há vazamentos com um fósforo ou uma chama aberta.
Aplique uma solução de água com sabão na conexão do cilindro. Se houver formação de bolhas, desconecte o cilindro.
Não use o maçarico se ele estiver vazando, danificado ou funcionando incorretamente. Se o maçarico estiver vazando, entre em contato
com o fabricante ou com o revendedor.
Não tente acendê-lo com um fósforo ou isqueiro. Mantenha a mão longe da ponta.
Acenda o maçarico distante do rosto, mãos, roupas e de outros materiais inflamáveis.
Não use para aquecer ambientes.
Sempre use o maçarico com o cilindro na posição vertical. Se ele for inclinado na posição horizontal, o combustível líquido alcançará o
bico do queimador, gerando uma grande chama amarela. Recoloque-o imediatamente na vertical e gire o botão para a posição fechada.
Antes de aquecer uma superfície, verifique se o calor não será conduzido para áreas vizinhas que possam ser combustíveis ou se tornarem
pressurizadas quando aquecidas. Durante o uso, verifique as áreas vizinhas regularmente para evitar aquecimento não intencional.
Trabalhe somente em áreas bem ventiladas. Evite os vapores de fluxos, pinturas à base de chumbo e todas as operações de aquecimento
de metal. Evite fumaças de metal chapeado e galvanizado.
Certifique-se de que o maçarico esteja completamente frio antes de armazená-lo. Sempre desconecte o cilindro do maçarico para o
armazenamento.
Tijolos e concreto podem trincar e explodir quando expostos a altas temperaturas.
Não deixe sem supervisão.
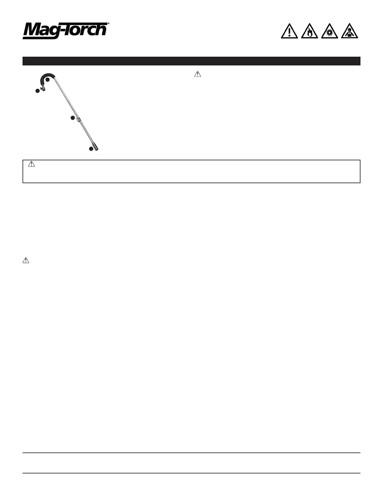
PORTUGUESE | PORTUGAIS | PORTUGUÉS | PORTUGUÊSModel: MT450
PERIGO
Este maçarico é usado com um produto inflamável. Não seguir as
instruções e os avisos de atenção pode provocar uma explosão
ou incêndio que pode causar danos materiais, acidentes pessoais
graves ou morte.
Leia e observe as instruções e os avisos de atenção deste manual
e familiarize-se com o maçarico antes de acendê-lo e usá-lo. Leia
frequentemente as instruções e os avisos de atenção para estar
sempre a par das mesmas. Não tente operar o maçarico sem antes
ler estas instruções.
Os maçaricos devem ser usados somente com cilindros portáteis
de gás projetados especialmente para uso com maçaricos.
DO NOT DISCARD THESE WARNINGS AND INSTRUCTIONS | NE PAS JETER CES AVERTISSEMENTS ET CES INSTRUCTIONS
NO DESECHE ESTAS ADVERTENCIAS E INSTRUCCIONES | NÃO DESCARTE ESTES AVISOS DE ATENÇÃO E INSTRUÇÕES

Related product manuals