EasyManua.ls Logo

Mammoth 98874 - Parts List - Bolts and Spacers; Specific Bolt and Spacer Identification

Mammoth 98874
24 pages
Print Icon
To Next Page IconTo Next Page
To Next Page IconTo Next Page
To Previous Page IconTo Previous Page
To Previous Page IconTo Previous Page
Loading...
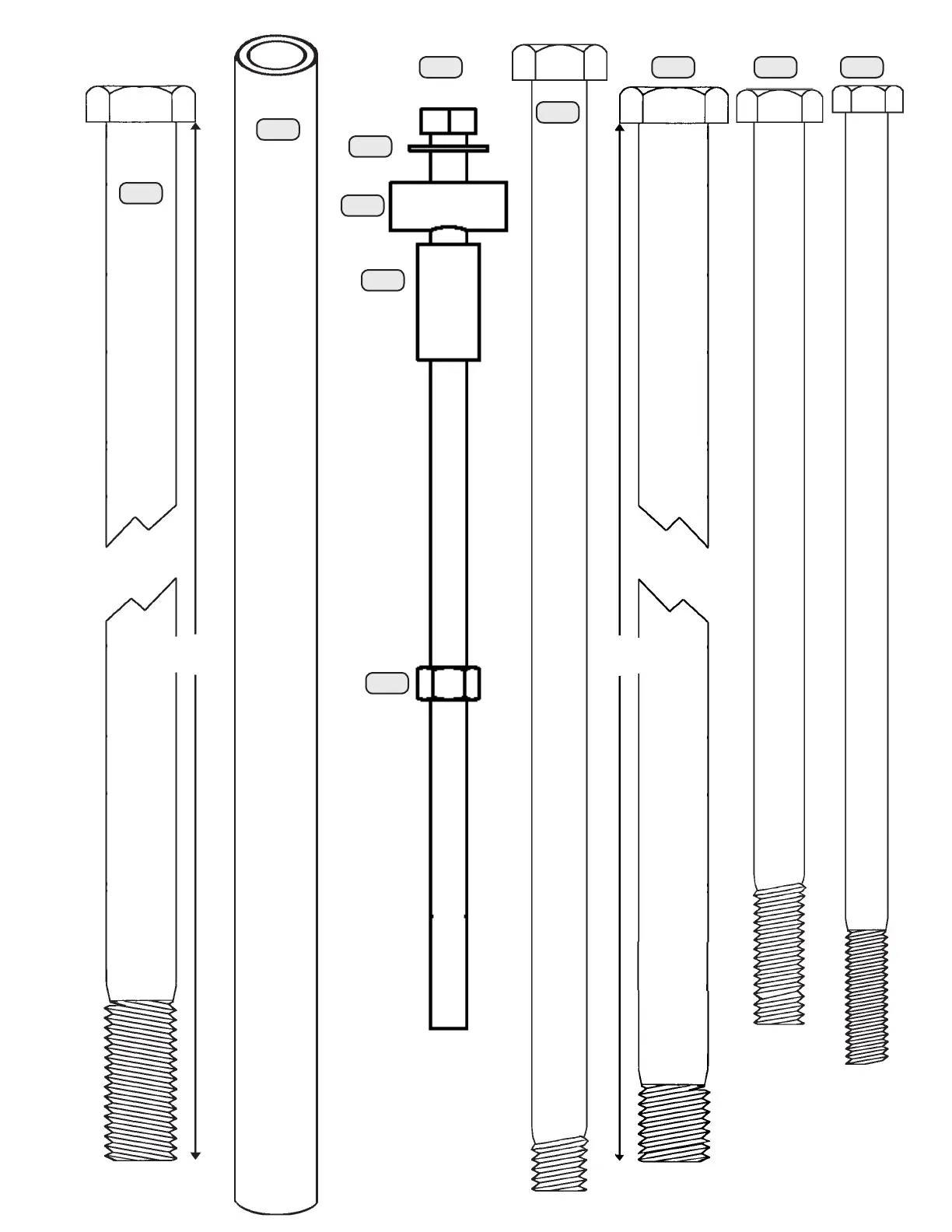
7
QB
HD
HE BA
EJ
(Not actual
length)
13.31”
EK
SB
Note: Thread lengths on the Bolts may vary.
SD
SG
SE
SA
11 1/4”
(x2)
(Not actual
length)