EasyManua.ls Logo

Manitou MRT 1850 - Page 181

Manitou MRT 1850
206 pages
Print Icon
To Next Page IconTo Next Page
To Next Page IconTo Next Page
To Previous Page IconTo Previous Page
To Previous Page IconTo Previous Page
Loading...
4
85
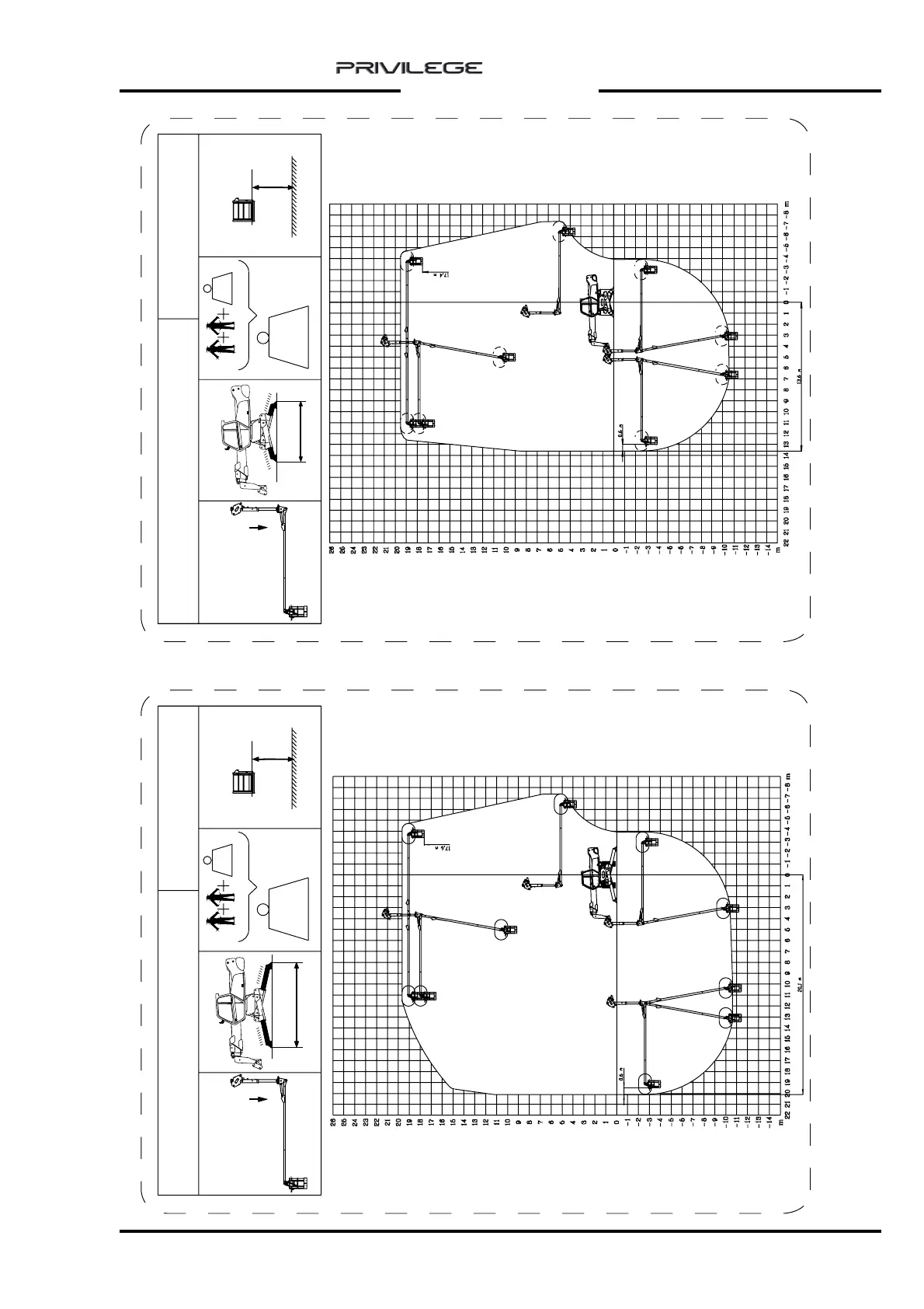
MRT 2150 pos. X
17,6 m
2
20
0
0 Kg
Kg
Lmax
691249
Pendulum 3D
Negative
MRT 2150 pos. X
17,4 m
2
20
0
0 Kg
Kg
L min
691248
Pendulum 3D
Negative
PENDULUM 3D
MRT 1850 - 2150 - 2540

Related product manuals