EasyManua.ls Logo

Manitou MRT 1850 - Page 199

Manitou MRT 1850
206 pages
Print Icon
To Next Page IconTo Next Page
To Next Page IconTo Next Page
To Previous Page IconTo Previous Page
To Previous Page IconTo Previous Page
Loading...
4
103
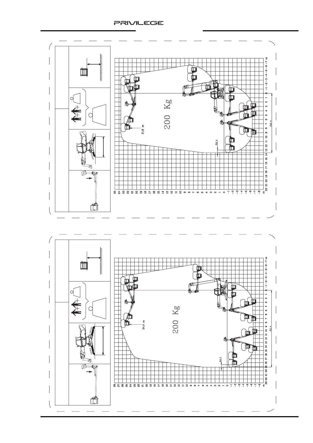
AERIAL JIB 2
MRT 1850 - 2150 - 2540
AERIAL JIB 2
Negative
MRT 2540
os.
24,4 m
200 Kg
200 Kg
Kg
Kg
711128
L max
AERIAL JIB 2
Negative
MRT 2540
os.
21,6 m
200 Kg
200 Kg
Kg
Kg
711129
L min

Related product manuals