EasyManua.ls Logo

Manitou MRT 2540 - Page 171

Manitou MRT 2540
206 pages
Print Icon
To Next Page IconTo Next Page
To Next Page IconTo Next Page
To Previous Page IconTo Previous Page
To Previous Page IconTo Previous Page
Loading...
4
75
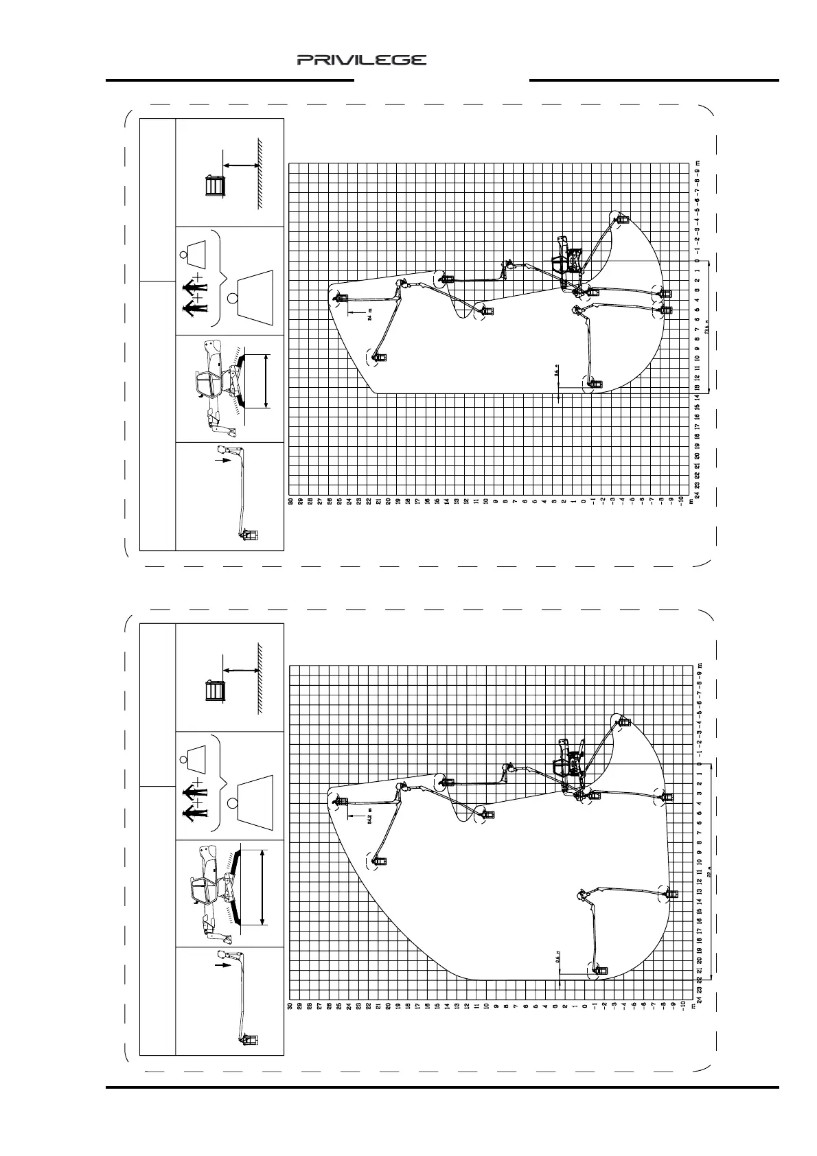
MRT 1850 pos. 2
24,2 m
Pendulum A+B
2
20
0
0 Kg
Kg
Negative
708438
Lmax
MRT 1850 pos. 2
24 m
Pendulum A+B
2
20
0
0 Kg
Kg
L min
Negative
708439
PENDULUM A+B
MRT 1850 - 2150 - 2540