EasyManua.ls Logo

Manitou PRIVILEGE E3 - Page 133

Manitou PRIVILEGE E3
206 pages
Print Icon
To Next Page IconTo Next Page
To Next Page IconTo Next Page
To Previous Page IconTo Previous Page
To Previous Page IconTo Previous Page
Loading...
4
37
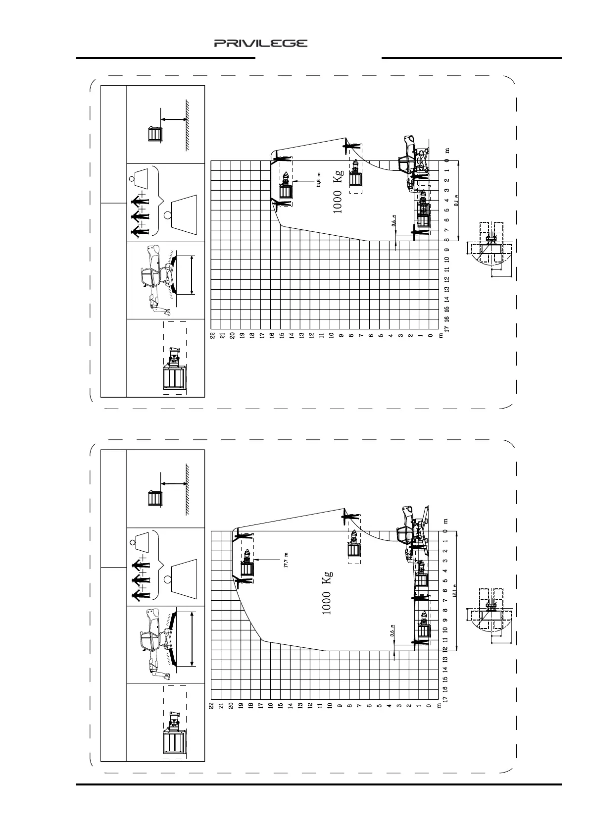
MRT 1850 pos. 3
17,7 m
1
100
0
0 Kg
Orh 2,45-5 m
Lmax
K
Kg
708430
R.3,05
1,75
1
,225
2,5
MRT 1850 pos. 3
13,8 m
1
100
0
0 Kg
L min
Orh 2,45-5 m
K
Kg
708431
R.3,05
1,75
1,225
2,5
ORH 2,45/5 m
MRT 1850 - 2150 - 2540

Related product manuals