EasyManua.ls Logo

marklin 6647 - Page 67

marklin 6647
Print Icon
To Next Page IconTo Next Page
To Next Page IconTo Next Page
To Previous Page IconTo Previous Page
To Previous Page IconTo Previous Page
Loading...
67
2. Säkerhetsråd för drift med
Märklins transformatorer
Kontrollera med jämna mellanrum (beroende på användning upp till
1 gång per vecka) Transformern och alla anslutningsledningar på synliga
skador, som beskrivits ovan. Innan detta görs måste du kontrollera att
allt har stängts av och helt skiljts från nätet. Finns minsta misstanke om
skada, får Transformern först användas igen efter reparation av Märklin
Service.
Tala om för era barn att förändringar på ledningsdragningen aldrig får
göras utan uppsikt. Transformatorernas anslutning till nätet eller trans-
formatorernas urkoppling från nätet fån endast ske med förgrenings-
dosans stickpropp!
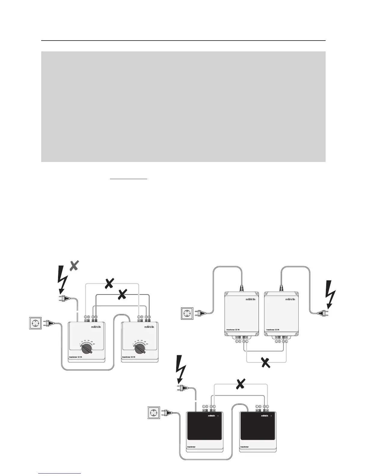
Vid anslutning av fler än en
transformator måste alltid följande säkerhets-
regler beaktas:
Vid anslutning av elektriska förbrukare (t ex spåranslutning, växlar, signaler, belys-
ning etc.) till en transformator måste alltid först stickpropparna till samtliga befintlige
transformatorer dras ur vägguttagen.
Växelspänningsutgängar av två eller flera transformatorer fär aldrig förbindas sinse-
mellan Ritningarna 1, 2 och 3, sida I + II.
6002
6002
6647
6647
6005
6005

Related product manuals