EasyManua.ls Logo

Marstek CT001 - Page 36

Marstek CT001
75 pages
Print Icon
To Next Page IconTo Next Page
To Next Page IconTo Next Page
To Previous Page IconTo Previous Page
To Previous Page IconTo Previous Page
Loading...
1
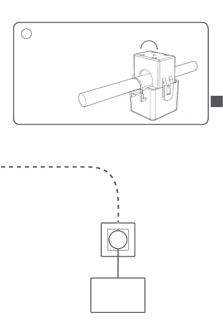
Atar en la dirección de la flecha
Durante la instalación,
use cables de unión para atar
el transformador al cable.
Microinversor
ES
Si desea instalar el CT001 en una caja eléctrica, se requiere
una instalación eléctrica profesional.