EasyManua.ls Logo

Marvel MP15 Series - Page 38

Marvel MP15 Series
48 pages
Print Icon
To Next Page IconTo Next Page
To Next Page IconTo Next Page
To Previous Page IconTo Previous Page
To Previous Page IconTo Previous Page
Loading...
14
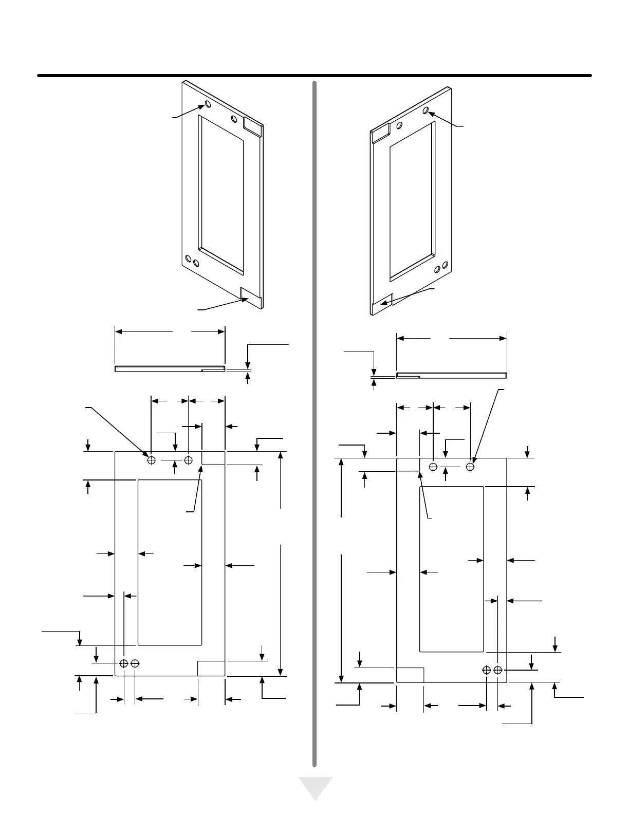
INSTALLATION DE PANNEAU DE REVÊTEMENT DE PORTE
Dégagement pour
charnière, 2
emplacements
Figure 14
Porte à charnières à gauche
Appareil de largeur
15 po (38,1 cm)
Figure 15
Porte à charnières à gauche
Appareil de largeur 15 po (38,1 cm)
4
7
8 po
(12,4 cm)
4
7
8 po
(12,4 cm)
3
27
32 po
(9,8 cm)
1
3
16 po
(3 cm)
3
1
8 po
(7,9 cm)
1
1
2 po
(3,8 cm)
typique
1
11
16 po
(4,3 cm)
14
3
4 po
(37,5 cm)
14
3
4 po
(37,5 cm)
1
4 po
(6 mm)
Profondeur
5 po
(12,7 cm)
1
3
4 po
(4,4 cm)
3
1
8 po
(7,9 cm)
Minimum
2 po
(5,1 cm)
3
11
16 po
(9,4 cm)
4
1
8 po
(10,5 cm)
Minimum
3
1
8 po
(7,9 cm)
Minimum
Cette face
vers l'intérieur
Arrondi de
1
4 po (6 mm)
autorisé
Dégagement pour tête
de vis, 4 emplacements
Côté charnières de la porte
Haut de porte
1 po (25,4 mm) de diamètre,
contre-alésage de 1⁄4 po
(6 mm) de profondeur, 4
emplacements
30
11
32"
(77.1 cm)
30
11
32"
(77.1 cm)
Dégagement pour
charnière, 2
emplacements
Figure 16
Porte à charnières à droite
Appareil de largeur
15 po (38,1 cm)
Figure 17
Porte à charnières à droite
Appareil de largeur 15 po (38,1 cm)
3
27
32 po
(9,8 cm)
1
3
16 po
(3 cm)
3
1
8 po
(7,9 cm)
1
1
2 po
(3,8 cm)
typique
Haut de porte
1
4 po
(6 mm)
Profondeur
5 po
(12,7 cm)
1
3
4 po
(4,4 cm)
3
1
8 po
(7,9 cm)
Minimum
2 po
(5,1 cm)
3
11
16 po
(9,4 cm)
4
1
8 po
(10,5 cm)
Minimum
3
1
8 po
(7,9 cm)
Minimum
Cette face
vers l'intérieur
1
11
16 po
(4,3 cm)
Dégagement
pour tête
de vis, 4
emplacements
Côté charnières de la porte
1 po (25,4 mm) de diamètre,
contre-alésage de
1
4 po
(6 mm) de profondeur, 4
emplacements
Arrondi de
1
4 po (6 mm)
autorisé
1
5
32 po
(2,9 cm)
1
5
32 po
(2,9 cm)

Related product manuals