EasyManua.ls Logo

Master audio X208 - Page 10

Default Icon
48 pages
Print Icon
To Next Page IconTo Next Page
To Next Page IconTo Next Page
To Previous Page IconTo Previous Page
To Previous Page IconTo Previous Page
Loading...
Master Audio
Xcellence Line Array Series 208.Ver 1.2 Sep 12
10
[Nº of BOXES]
2 : 2 boxes
4 : 4 boxes – 6 boxes
8 : 8 or more boxes
[CONFIGURATION]
FLAT: Flat boxes at 0º (longthrow application)
ARC-: Standard curved boxes, i.e. 0º/1º/3º/6º or similar (for mid field application).
ARC+: Maximum curved boxes, i.e. or more degrees between cabinets (for
nearfield application)
[FREQUENCY RANGE]
FR: Full-range. Frequency response down to 78Hz
SW: Frequency response down to 90Hz (for subwoofer use)
Example:
[4FLAT_FR]: 4 boxes / flat configuration / full-range
STANDARD CONFIGURATIONS
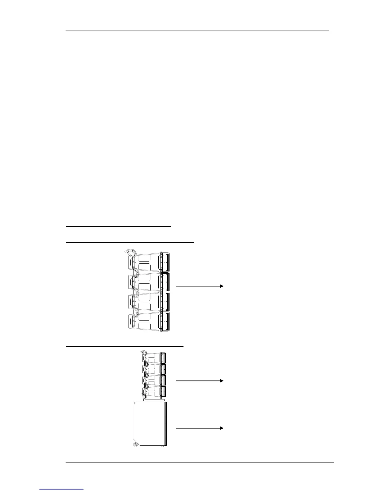
1) 4 x X-208 FLAT without subwoofers
P1 [4FLAT_FR]
2) 4 x X-208 FLAT with subwoofers
P2 [4FLAT_SW]
[LPF90/LPF110/etc..]

Related product manuals