EasyManua.ls Logo

Master BV Series - Page 17

Master BV Series
25 pages
Print Icon
To Next Page IconTo Next Page
To Next Page IconTo Next Page
To Previous Page IconTo Previous Page
To Previous Page IconTo Previous Page
Loading...
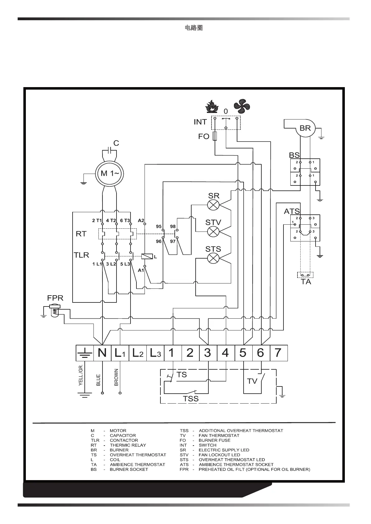
SKEMA ELEKTRIKE - ЕЛЕКТРИЧЕСКА СХЕМА - 电路图 - ELEKTRICKÉ SCHÉMA - ELEKTRISCHES
SCHALTBILD - EL-DIAGRAM - ELEKTRISKEEM - ESQUEMA ELÉCTRICO - KYTKENTÄKAAVIO -
SCHÉMA DE CÂBLAGE - WIRING DIAGRAM - ΣΧΕΙΑΓΡΑΜΜΑ ΤΟΥ ΗΛΕΚΤΡΙΚΟΥ ΚΥΚΛ{ΜΑΤΟΣ -
SHEMA ELEKTRIKE - ELEKTROMOS KAPCSOLÁSI SÉMA - SCHEMA ELETTRICO - ELEKTRINE
SCHEMA - ELEKTRISKĀ SHĒMA - SCHAKELSCHEMA - ELEKTRISK SKJEMA - SCHEMAT
ELEKTRYCZNY - ESQUEMA ELÉTRICO - SCHEMĂ ELECTRICĂ - ЭЛЕКТРИЧЕСКАЯ СХЕМА
- ELANLÄGGNING - ELEKTRIČNA SHEMA - ELEKTRICKÁ SCHÉMA - ELEKTRĐK SEMASI
- ЕЛЕКТРИЧНА СХЕМА - SHEMA ELEKTRIKE
310FS - 470FS - 690FS - 310FSR - 470FSR

Related product manuals