EasyManua.ls Logo

MasterForce 241-0834 - Page 16

MasterForce 241-0834
24 pages
Print Icon
To Next Page IconTo Next Page
To Next Page IconTo Next Page
To Previous Page IconTo Previous Page
To Previous Page IconTo Previous Page
Loading...
Page 15
EDGE ROUTING
1. With the depth-of-cut set, place the
router on the edge of workpiece, making
sure that the cutter does not contact the
workpiece.
2. Have an edge guide (or a board or a
metal straightedge) clamped in place to
help guide the router base when making
the edge cut.
3. Turn the router “ON”, and allow the
router motor to reach the selected
speed.
4. To begin the cut, gradually feed the
cutter bit into the edge of the workpiece.
5. When the cut is complete, turn the
router motor “OFF” and allow the cutter
bit come to a complete stop before
removing it from the workpiece.
6. Unplug the router from the power
source, and inspect the finished cut.
WARNING:
Always securely clamp
your workpiece and keep a rm grip on
the router base with both hands at all
times. Failure to do so could result in
loss of control causing possible serious
personal injury.
WARNING:
Removing the cutter
bit from the workpiece while it is still
rotating could damage the workpiece and
result in loss of control, causing serious
personal injury.
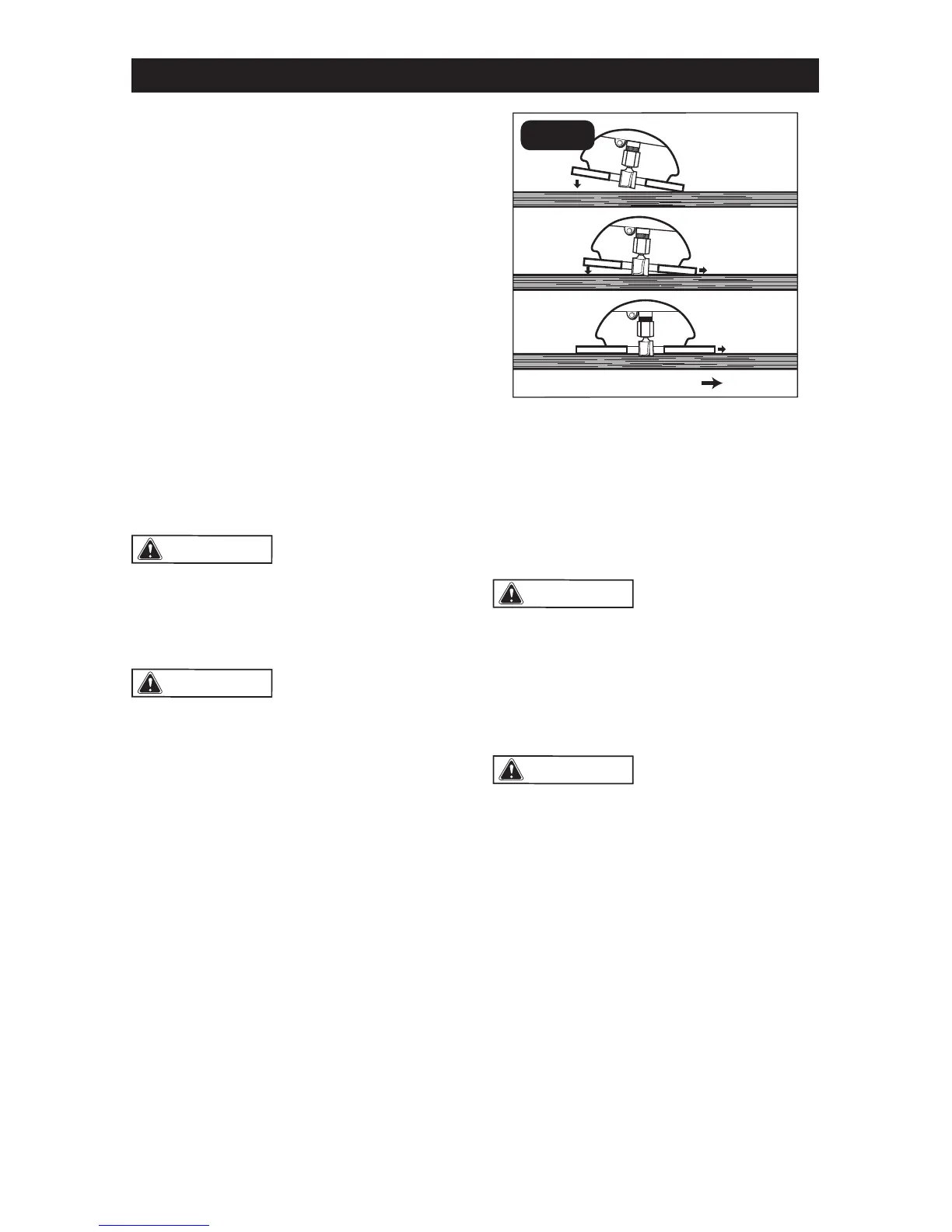
INTERNAL ROUTING WITH FIXED
BASE (FIG. 13)
1. With the depth-of-cut set, tilt the router
and place it on the workpiece with the
leading edge of the sub-base contacting
the workpiece first (FIG. 13).
2. Turn the router motor “ON” and allow
the router motor to reach the selected
speed, being careful not to allow the
cutter bit to contact the workpiece.
3. To begin your cut, gradually lower the
cutter bit into the workpiece until the
sub-base is flush with the workpiece
(FIG. 13).
FIG. 13
4. When the cut is complete, turn the
router motor “OFF” and allow the cutter
bit come to a complete stop before
removing it from the workpiece.
5. Unplug the router from power source,
place the router upside down on the
worktable, and inspect the finished cut
in the workpiece.
WARNING:
Always securely clamp
your workpiece and keep a rm grip on the
router base with both hands at all times.
Failure to do so could result in loss of
control causing possible serious personal
injury. If using a router table, large cutter
bits should be used for edging only.
WARNING:
Removing the cutter bit
from workpiece while it is still rotating could
damage the workpiece and result in loss of
control, causing serious personal injury.
OPERATION

Related product manuals