EasyManua.ls Logo

Maxview Omnimax Pro B2344 - Page 14

Maxview Omnimax Pro B2344
24 pages
Print Icon
To Next Page IconTo Next Page
To Next Page IconTo Next Page
To Previous Page IconTo Previous Page
To Previous Page IconTo Previous Page
Loading...
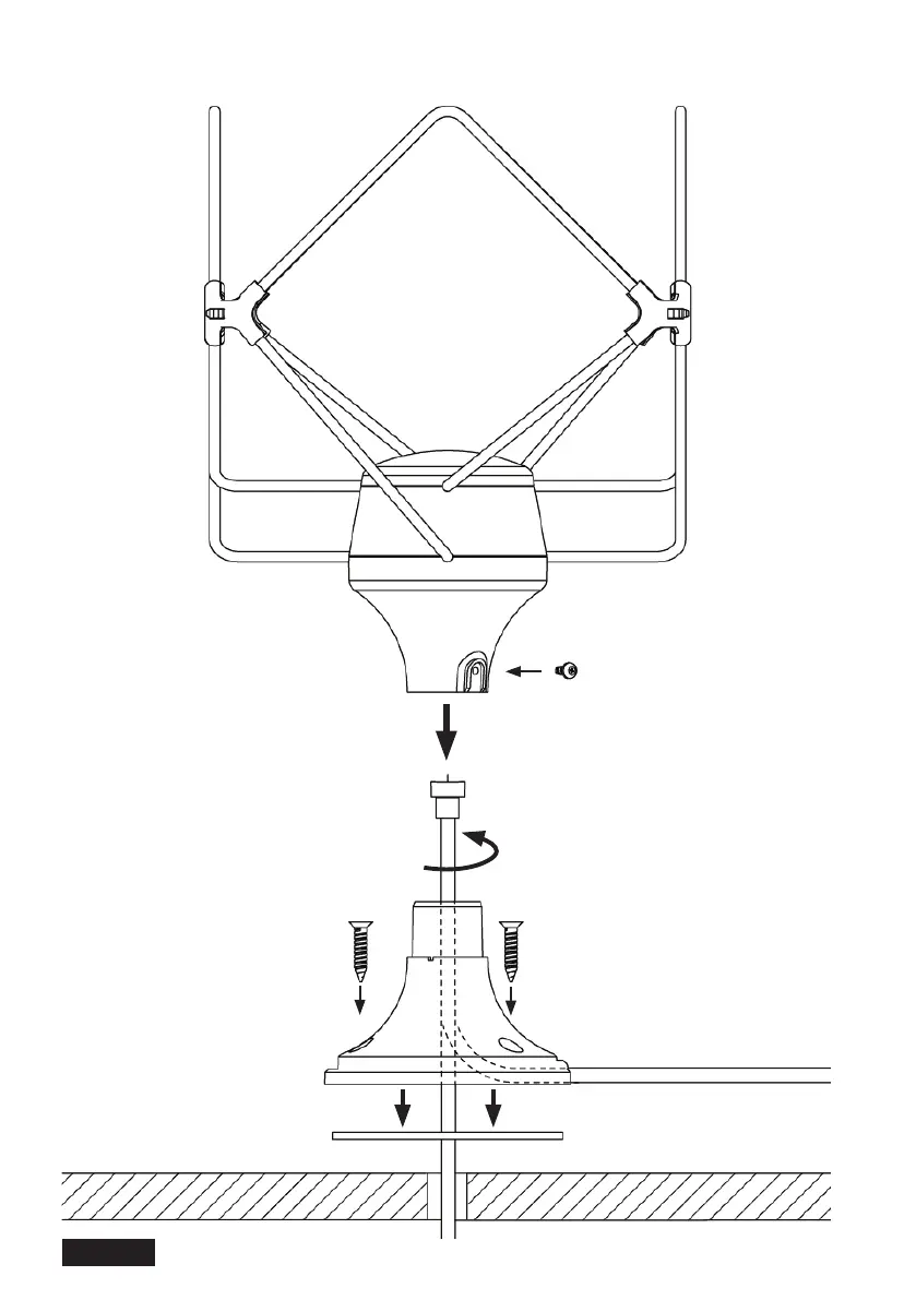
Installation/Installatie
Page 14

Related product manuals