EasyManua.ls Logo

Maytag CTB1502ARW - Ice Maker Wiring, Thermal Fuse, and Troubleshooting

Maytag CTB1502ARW
55 pages
Print Icon
To Next Page IconTo Next Page
To Next Page IconTo Next Page
To Previous Page IconTo Previous Page
To Previous Page IconTo Previous Page
Loading...
!
WARNING
To avoid risk of electrical shock that can cause death or severe personal injury, disconnect unit from power before
servicing unless tests require power. Discharge capacitors through a 10,000-ohm resistor before handling. Wires
removed during disassembly must be replaced on correct terminals to ensure proper grounding and polarization.
16022675 A - 6 ©2003 Maytag Appliances Company
wicking of water over the mold and poor cube release.
Silicone is applied at the upper edges, around fill cup
and stripper.
Temperature Problems
Temperatures in freezer section that average more than
0 ± 2°F (18 ± 1°C) slow the formation of ice. Therefore,
complaints of inadequate ice production can sometimes
be corrected by setting the freezer thermostat to a
colder temperature. Thermostat cycling temperature in
the one-revolution ice maker is 17° ±3°F (-8° ±1°C).
Obviously, the ice will be well frozen when those
temperatures are achieved. But cycling time is slow if
freezer temperature is not cold enough to achieve
those temperatures easily.
Bimetal Thermostat
Follow "Test Procedures" (P. 37) to test operation of the
bimetal thermostat.
NOTE: Replacement thermostats are no longer
available for ice makers. If your thermostat is
faulty, order a new ice maker.
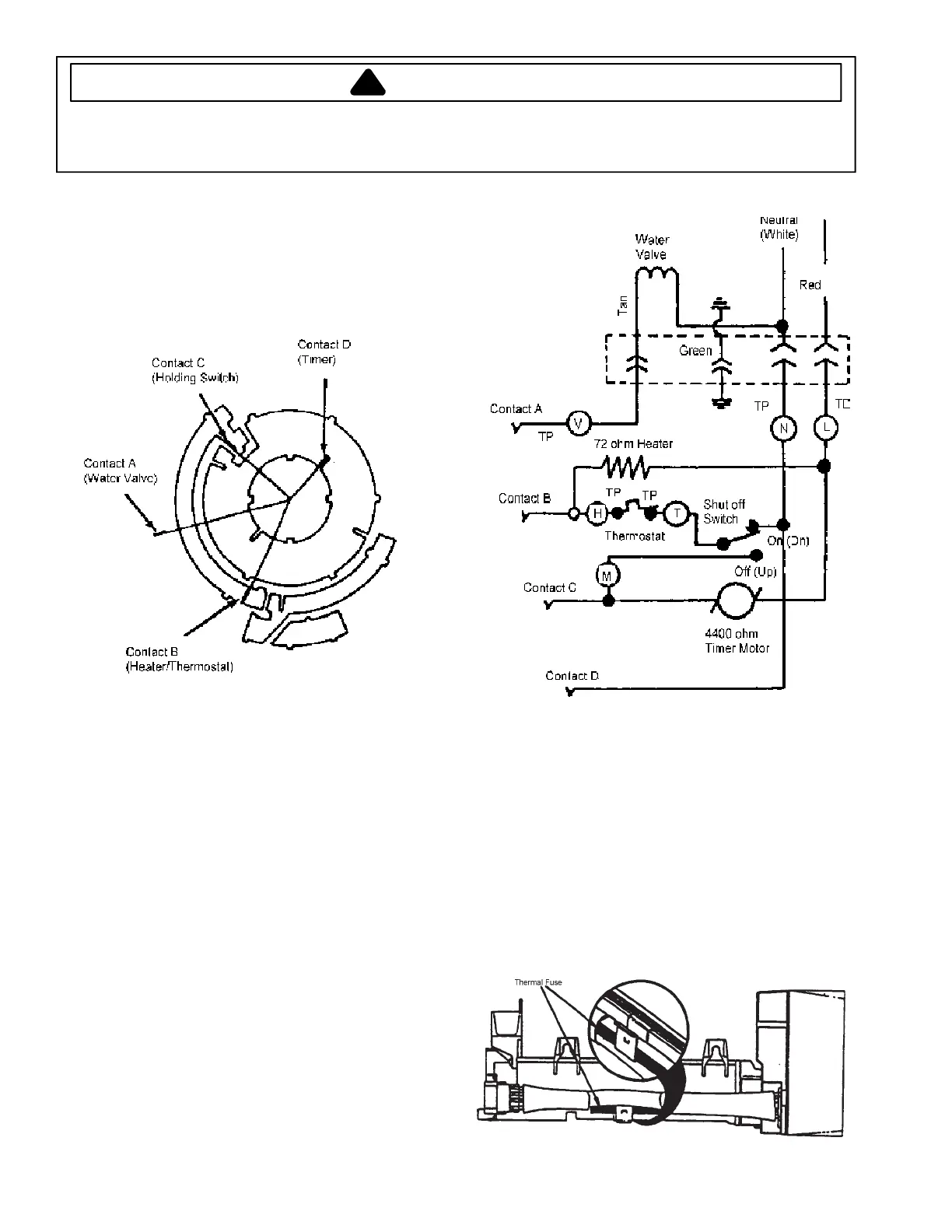
Thermal Fuse
A one-time thermal fuse, incorporated into the ice
maker wiring harness, protects the plastic liner from
melting if the ice maker overheats. The thermal fuse is
spliced into the red wire of the ice maker harness. It is
a nonresettable fuse, and it is designed to blow at
170°F (78° C).
Presence of this fuse in the circuit means that a "No
Ice" complaint could be caused by excessive heat.
Where overheating is the problem, replacement of the
wiring harness is a temporary solution. The ice maker
should also be replaced.
115 VAC
Copper Strips
on Backside of Drive Gear
Wiring Diagram

Table of Contents

Related product manuals