EasyManua.ls Logo

Mazda 3 - Page 15

Mazda 3
748 pages
Print Icon
To Next Page IconTo Next Page
To Next Page IconTo Next Page
To Previous Page IconTo Previous Page
To Previous Page IconTo Previous Page
Loading...
1
11
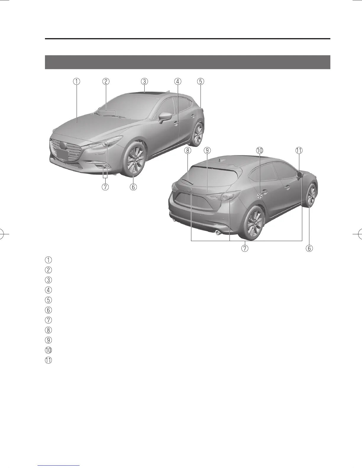
Pictorial Index
Exterior Overview
The equipment and installation position varies by vehicle
(Hatchback)

Bonnet ................................................................................................................... page 6-18

Windscreen wiper blades ...................................................................................... page 6-36

Sunroof .................................................................................................................. page 3-46

Doors and keys ...................................................................................................... page 3-12

Fuel-¿ ller À ap ........................................................................................................ page 3-31

Wheels and Tyres .................................................................................................. page 6-46

Exterior lights ........................................................................................................ page 6-52

Rear window wiper blade ..................................................................................... page 6-38

Liftgate .................................................................................................................. page 3-22

Child safety locks .................................................................................................. page 3-20

Outside mirror ....................................................................................................... page 3-35
/C\FCA(,'''A'FKVKQPKPFD/C\FCA(,'''A'FKVKQPKPFD 

Other manuals for Mazda 3

Related product manuals