EasyManua.ls Logo

Mazda mx-5 2017 - Page 206

Mazda mx-5 2017
568 pages
Print Icon
To Next Page IconTo Next Page
To Next Page IconTo Next Page
To Previous Page IconTo Previous Page
To Previous Page IconTo Previous Page
Loading...
4
92
When Driving
i-ACTIVSENSE
*Some models.
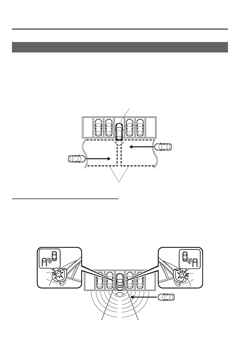
Rear Cross Trafc Alert (RCTA)
*
The Rear Cross Trafc Alert (RCTA) system is designed to assist the driver in checking the
area to the rear of the vehicle on both sides while the vehicle is reversing by alerting the
driver to the presence of vehicles approaching the rear of the vehicle.
The Rear Cross Trafc Alert (RCTA) system detects vehicles approaching from the left and
right sides of the vehicle while the vehicle is being reversed out of a parking space, and
noties the driver of possible danger using the Blind Spot Monitoring (BSM) warning lights
and the warning buzzer.
Detection areas
Your vehicle
Rear Cross Trafc Alert (RCTA) operation
1. The Rear Cross Trafc Alert (RCTA) system operates when the shift lever (manual
transmission) or the selector lever (automatic transmission) is shifted to the reverse (R)
position.
2. If there is the possibility of a collision with an approaching vehicle, the Blind
Spot Monitoring (BSM) warning light ashes and the warning beep is activated
simultaneously.
MX-5_8FR4-EA-16J_Edition1.indb 92 2016/08/11 20:29:03

Table of Contents

Related product manuals