EasyManua.ls Logo

McFarlane Reel Disk 4100 Series - Page 84

McFarlane Reel Disk 4100 Series
100 pages
Print Icon
To Next Page IconTo Next Page
To Next Page IconTo Next Page
To Previous Page IconTo Previous Page
To Previous Page IconTo Previous Page
Loading...
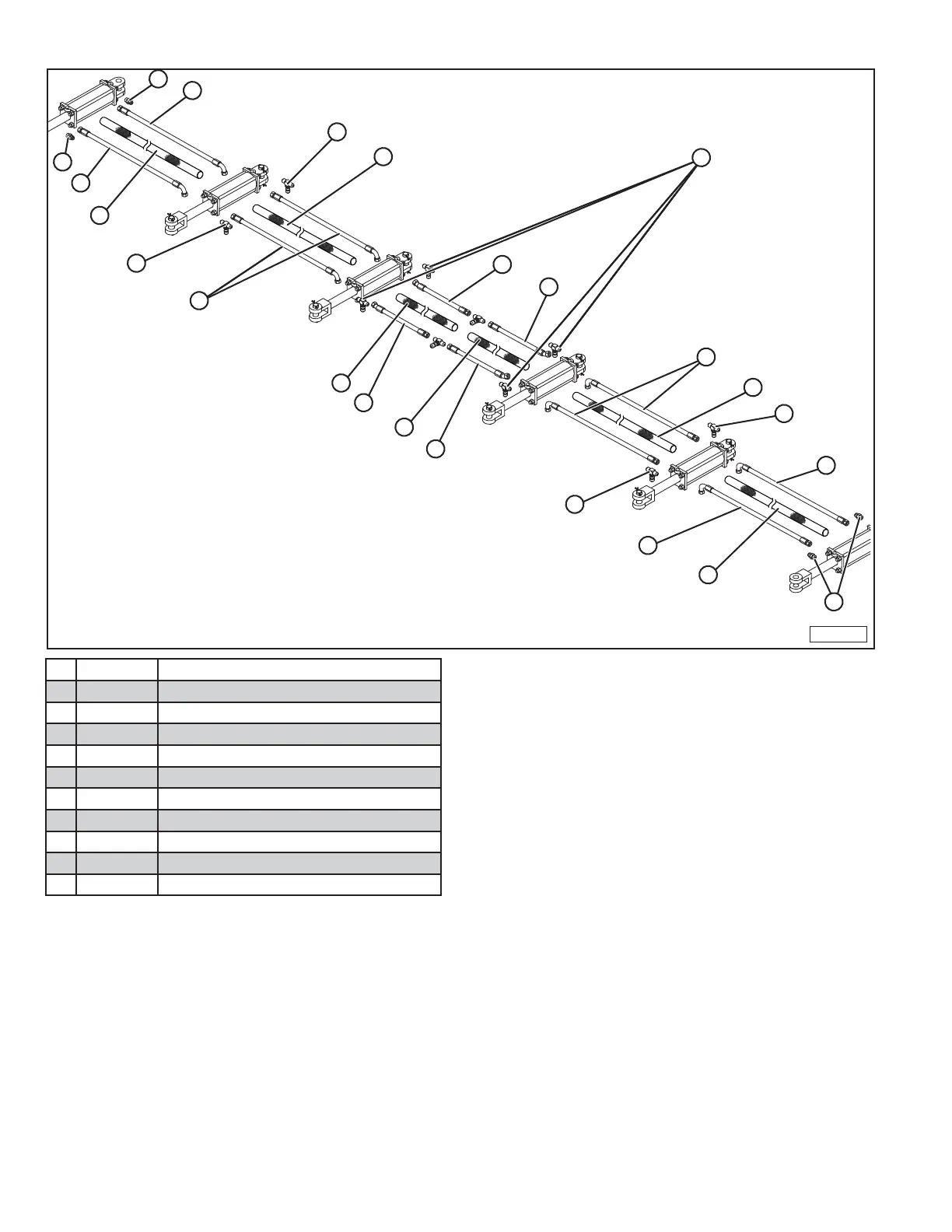
5HHO'LVNIURP0F)DUODQH0IJ  
'LVN*DQJ+\GUDXOLFVIRU5'
2
1
5
MFM-0134
7
8
9
4
1
1
7
8
10
10
6
8
2
3
4
3
6
7
5
8
3
,WHP 3DUW1XPEHU 'HVFULSWLRQ
+<) +<'(/%2:0025%
+<+ +<'+26([67'
+<) +<'7((0025%0
+<6 +<'+26(&29(5
+<+ +<'+26([67'
+<+ +<'+26([67'
+<+ +<'+26([67'
+<6 +<'+26(&29(5
+<+ +<'+26([67'
 +<) +<'7((00025%