EasyManua.ls Logo

Mercury Mountaineer 2009 - Page 135

Mercury Mountaineer 2009
817 pages
Go to English
Print Icon
To Next Page IconTo Next Page
To Next Page IconTo Next Page
To Previous Page IconTo Previous Page
To Previous Page IconTo Previous Page
Loading...
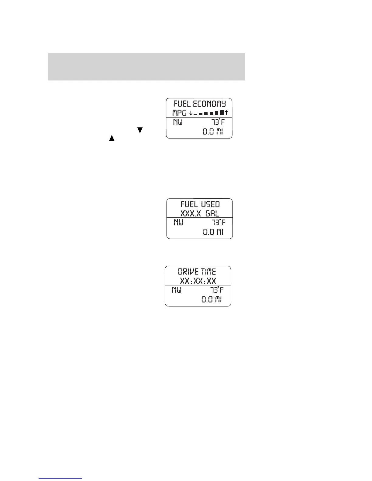
Economía de combustible instantánea
Seleccione esta función desde el
menú INFO para mostrar la
economía de combustible
instantánea. Esta mostrará la
economía de combustible como un
Gráfico de barras que fluctúa de
economía deficiente a economía
excelente. A medida que las barras
crecen de izquierda a derecha, la economía de combustible instantánea
aumenta.
Su vehículo debe estar en movimiento para calcular el ahorro instantáneo
de combustible. Cuando su vehículo no está en movimiento, esta función
muestra una o ninguna barra iluminada. No es posible restablecer la
economía de combustible instantánea.
Combustible utilizado
Esta función se selecciona en el
menú INFO. FUEL USED XXX.X
GAL (Combustible utilizado XXX G)
mostrará la cantidad de combustible
utilizado desde el último
restablecimiento. La información
mostrada estará en galones o litros,
dependiendo del estado del modo
Inglés/Métrico.
Tiempo transcurrido de viaje
Seleccione esta función desde el
menú INFO para que aparezca un
cronómetro.
Para manejar el Tiempo transcurrido
de viaje, realice lo siguiente:
1. Presione y suelte RESET para
iniciar el cronómetro.
2. Presione y suelte RESET para pausar el cronómetro.
3. Mantenga presionado RESET durante 2 segundos para restablecer el
cronómetro a cero.
Visualización en blanco
Seleccione esta función del menú INFO para desactivar las dos líneas
superiores de la pantalla del centro de mensajes.
2009 Mountaineer (mnt)
Owners Guide, 1st Printing
USA (fus)
Controles del conductor
135

Table of Contents

Related product manuals