EasyManua.ls Logo

Meta System BLE42 - Page 5

Meta System BLE42
Print Icon
To Next Page IconTo Next Page
To Next Page IconTo Next Page
To Previous Page IconTo Previous Page
To Previous Page IconTo Previous Page
Loading...
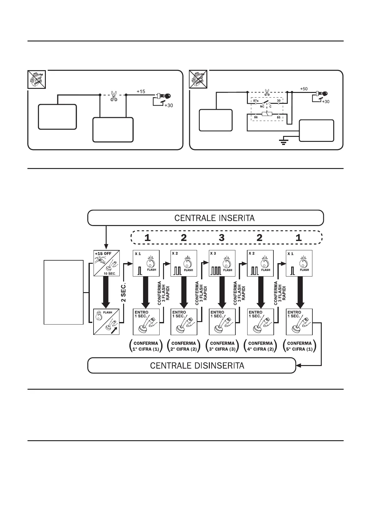
9. RELE’ INTERNO DI AVVIAMENTO BLOCCO
Per il blocco avviamento è disponibile un relè interno al modulo BLE42 i cui contatti C e NC sono accessibili dall’esterno
tramite la connessione ai 2 Faston da 6,3 mm (Fig.7/8). La logica di attivazione del relè interno di blocco avviamento
prevede che i contatti del relè vengano aperti nel caso di accensione del quadro strumenti con modulo BLE42 inserito.
Fig.7 Fig.8
INIEZIONE
ELETTRONICA
POMPA
BENZINA
C
INSTALLARE UN RELE’
SUPPLEMENTARE
DA 30A
MOTORINO
DI
AVVIAMENTO
BLE42
BLE42
NC
C
NC
TAGLIARE FILO
ORIGINALE
TAGLIARE FILO
ORIGINALE
10.1 SISTEMA DI DISATTIVAZIONE D’EMERGENZA CON CODICE OVERRIDE
Nel caso si smarrisca la CARD o questa abbia la batteria scarica è possibile disattivare il modulo BLE42 tramite l’introdu-
zione di un codice di sblocco Override (Pin Code). Tramite il programmatore PRG007 è possibile selezionare se utilizzare
un codice a 3 o 5 cifre, le modalità di introduzione del codice sono descritte nel paragrafo che segue e nel caso di codice
a 3 cifre (Set-Up di fabbrica) il disinserimento avverrà dopo l’introduzione della 3 cifra. NB: Il prodotto disattivato tramite
Override rimane disattivo fino a che non lo si riattiva volontariamente.
Con quadro
strumenti OFF
tenere premuto
il pulsante
per 10 sec.
fino
all’accensione
del LED
poi rilasciare
il pulsante
e procedere
con la conferma
delle cifre.
10.2 RIATTIVAZIONE DELLA PROTEZIONE ALLAVVIAMENTO
Per riattivare il sistema eseguire le seguenti operazioni:
Con quadro strumenti OFF tenere premuto il pulsante per 3 sec fino alla accensione fissa del LED poi rilasciare il pulsante.
Al rilascio del pulsante il LED lampeggia veloce quindi premere nuovamente il pulsante entro 3 sec. per confermare la
riattivazione.
Il lampeggio lento del LED confermerà il ripristino della protezione all’avviamento.
11. PROGRAMMAZIONI DEL MODULO BLE42
Tramite il programmatore PRG007 è possibile eseguire una serie di Set-Up del modulo BLE42, di seguito riportiamo le
principali opzioni disponibili:
Eseguire il Set-Up delle 3 uscite programmabili.
Variare la portata radio del modulo per limitare l’area di ricezione dei dispositivi Bluetooth.
Personalizzare il codice Override e scegliere se lo si vuole a 5 cifre o 3 cifre
Aggiungere nuove Card (fino al massimo di 5) o Rimuovere le Card smarrite o non funzionanti.
Variare il funzionamento della CARD da ID-TAG (riconoscimento automatico) a telecomando (trasmette solo alla pres-
sione del tasto).
5

Related product manuals