EasyManua.ls Logo

Miele DA 196-2 - Appliance Dimensions

Miele DA 196-2
32 pages
Print Icon
To Next Page IconTo Next Page
To Next Page IconTo Next Page
To Previous Page IconTo Previous Page
To Previous Page IconTo Previous Page
Loading...
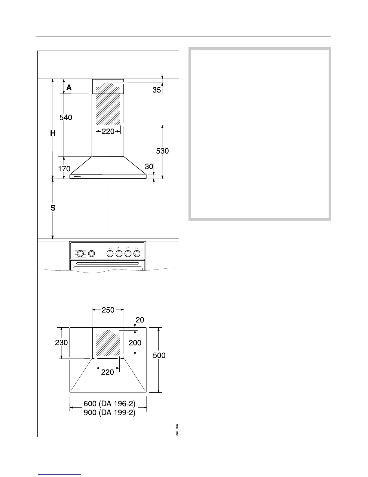
Safety regulations prohibit the fitting
of this cooker hood over a solid fuel
stove.
For safety reasons a minimum safe
distance must be maintained be
-
tween the top of the hob / cooker
and the bottom of the cooker hood:
– 450 mm above electric hobs /
cookers
– 650 mm above gas hobs / cookers
– 650 mm above an open grill
from our range.
See "Warning and Safety instruc
-
tions" for further information.
A distance of 650 mm may be pref-
erable above electric hobs / cookers
to give more working space.
When deciding dimension S ensure
that the minimum specified safety dis-
tance between the hob / cooker and the
cooker hood is maintained. If the hood
is fitted flush to the ceiling make sure
that the remaining distance to the ceil-
ing is not greater or less than appliance
height H.
Recirculation
H = 820 – 1110 mm
Extraction
H = 800 – 1020 mm with extraction
through the wall.
H = 730 – 1020 mm with extraction
through the ceiling.
To fit the tower, distance A between the
top of the tower and the ceiling must be
at least 20 mm.
Appliance dimensions
14

Related product manuals