EasyManua.ls Logo

Miele G 4948 - Page 72

Miele G 4948
76 pages
Print Icon
To Next Page IconTo Next Page
To Next Page IconTo Next Page
To Previous Page IconTo Previous Page
To Previous Page IconTo Previous Page
Loading...
Sound emission testing
72
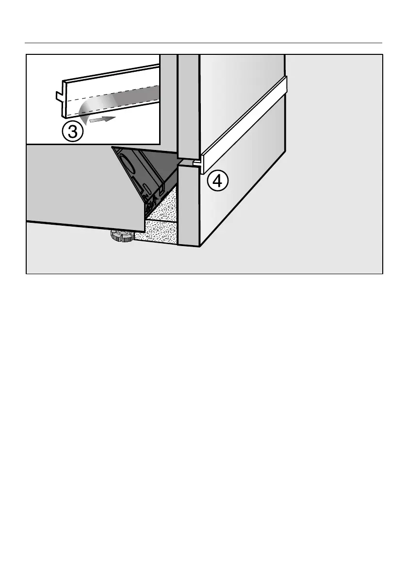
Remove the protective film from the provided insulating strip (depending on
model) .
Push the insulating strip into the front top edge of the toe-kick .