EasyManua.ls Logo

Miele PW 6321 - Page 6

Miele PW 6321
60 pages
Print Icon
To Next Page IconTo Next Page
To Next Page IconTo Next Page
To Previous Page IconTo Previous Page
To Previous Page IconTo Previous Page
Loading...
x
21
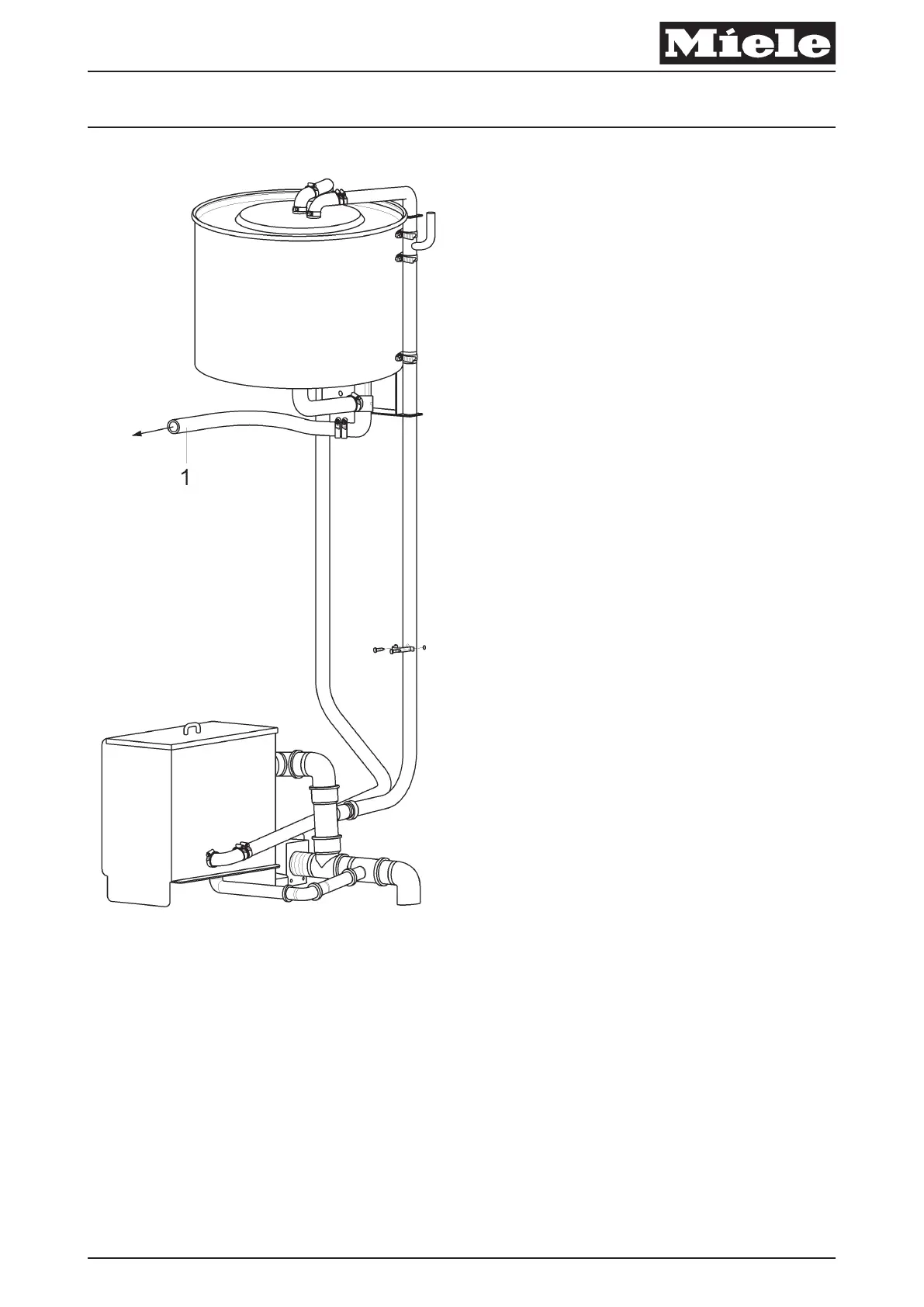
Produktgruppe 512 Umbau- und Montageanweisung
6 von 60 M.-Nr. 04598534
16.12.2011 Diese Unterlagen dürfen ohne unsere Genehmigung weder vervielfältigt noch Dritten zugänglich gemacht werden. Eigentumsrechte vorbehalten.

Other manuals for Miele PW 6321

Related product manuals