EasyManua.ls Logo

Mighty Mac TPH475 - Page 27

Mighty Mac TPH475
42 pages
Print Icon
To Next Page IconTo Next Page
To Next Page IconTo Next Page
To Previous Page IconTo Previous Page
To Previous Page IconTo Previous Page
Loading...
CONTACT US AT
www.MacKissic.com
27
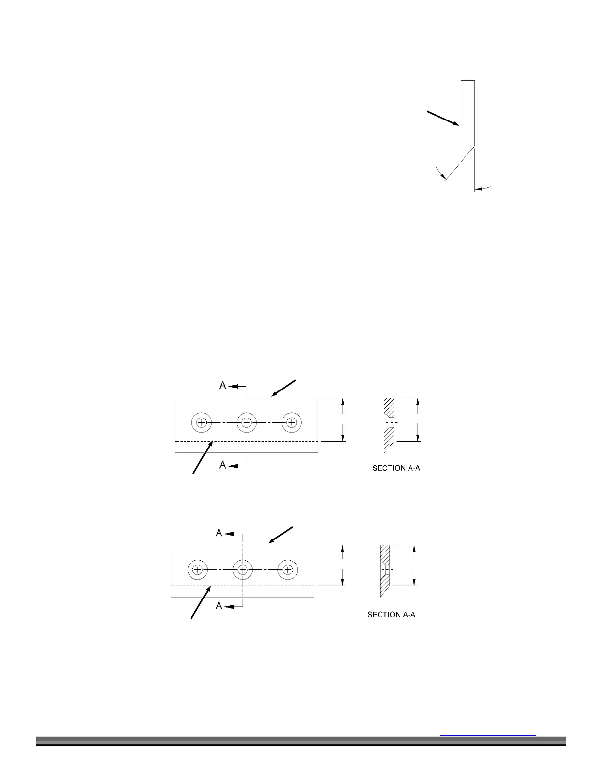
Chipper Knife Sharpening
You should never attempt to sharpen the Chipper Knife freehand.
It is extremely important to consistently maintain the 45-degree
angle for proper performance (Figure 41).
Excessive heat generated during the sharpening process will damage
Knives
and weaken the metal. Be sure not to overheat the Knife during
sharpening because it will shorten the life of the Knife.
Take the Chipper Knife to a machine shop for proper sharpening.
How many times a Knife can be sharpened is determined by how
much material needs to be taken off to sharpen or to compensate
for dents or gouges.
A new Chipper Knife has .970" measurement between the short side
bevel
edge and the Knife Top Edge (Figure 42 “New Knife”).
The knife should never be sharpened to the extent that more than
3/32" is taken off this measurement.
Once this measurement is below .876" (
Figure 42 “Sharpened Knife”
),
or if
you are unable to remove dents or gouges with these guidelines,
replace the Knife.
Figure 40
Chipper
Knife
45 °
Top Edge
Short Side
Beveled Edge
New Knife
Top Edge
Short Side
Beveled Edge
Sharpened Knife
Figure 41
.876
.876
.970
.970