EasyManua.ls Logo

miniland Thermo Bath - Page 6

miniland Thermo Bath
Print Icon
To Next Page IconTo Next Page
To Next Page IconTo Next Page
To Previous Page IconTo Previous Page
To Previous Page IconTo Previous Page
Loading...
6
ESPAÑOL
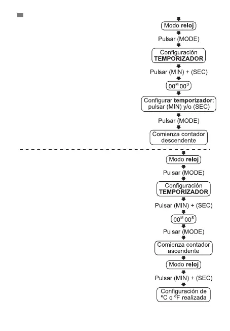
B Conguración del temporizador
(cuenta descendente)
Cuando la abeja está en modo reloj, presionar
el botón MODE, la pantalla mostrará la función
temporizador. Para resetear el temporizador
presionar los botones MIN y
SEC a la vez, la pantalla mostrará: 00M 00S.
Presionar MIN para ajustar los minutos
y SEC para los segundos.
Después, presionar de nuevo el botón
MODE para que comience el contador
descendente.
Cuando el contrador alcance 00M 00S
sonará la alerta.
Para detenerla antes de que nalice,
presionar el botón MODE y
después de 10 segundos se volverá
automáticamente a la función reloj.
C Conguración del cronómetro
(cuenta ascendente)
Cuando la abeja está en modo reloj, presionar
el botón MODE y la pantalla muestra la
función temporizador. Para resetear el
temporizador presionar los botones MIN y
SEC a la vez, y la pantalla muestra: 00M 00S.
Entonces presionar de nuevo el botón MODE
y comienza el contador ascendente.
Para detenerlo presionar el botón MODE y
después de 10 segundos automáticamente
volverá a la función reloj. Si no se presiona
ningún botón durante el contador ascendente,
el contador llegará hasta 59M 59S.
D Conguración de la unidad de
temperatura (ºC / ºF)
Cuando la abeja está en modo reloj, presionar
los botones MIN y SEC a la vez para cambiar
la unidad de medida de temperatura de ºC a ºF
o viceversa.
E Conguración del sistema horario (12h/24h)
Cuando la abeja está en modo reloj, presionar
los botones MIN y SEC a la vez para cambiar la
conguración del sistema horario de 24h a 12h o viceversa.

Related product manuals