EasyManua.ls Logo

Mitox HT60D - Page 30

Default Icon
42 pages
Print Icon
To Next Page IconTo Next Page
To Next Page IconTo Next Page
To Previous Page IconTo Previous Page
To Previous Page IconTo Previous Page
Loading...
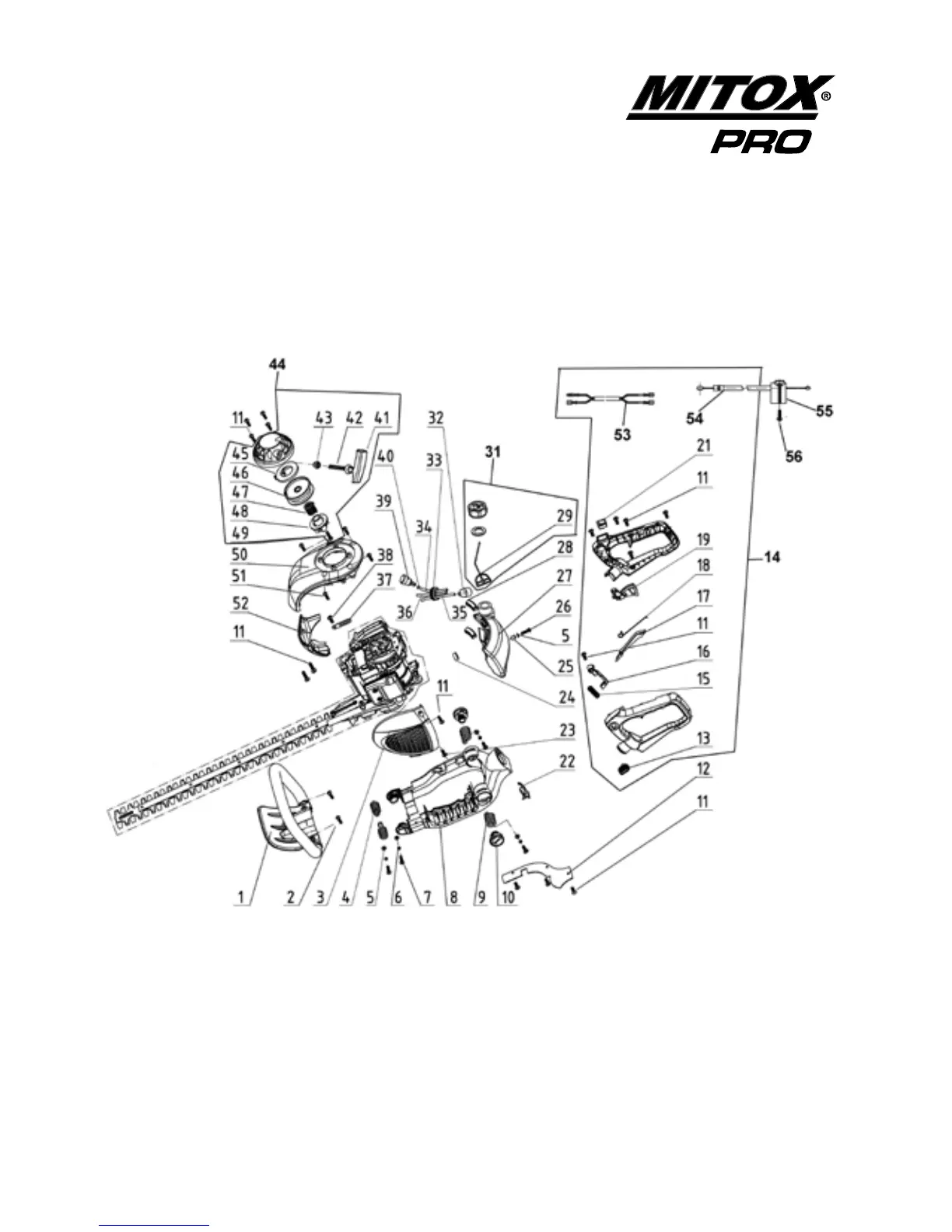
HT60D / HT70S Hedgetrimmer
30
Original Instructions Version Mar12
HT60D
Parts - Main Body

Related product manuals