EasyManua.ls Logo

Mitox HT60D - Page 33

Default Icon
42 pages
Print Icon
To Next Page IconTo Next Page
To Next Page IconTo Next Page
To Previous Page IconTo Previous Page
To Previous Page IconTo Previous Page
Loading...
HT60D / HT70S Hedgetrimmer
33
Original Instructions Version Mar12
HT70S
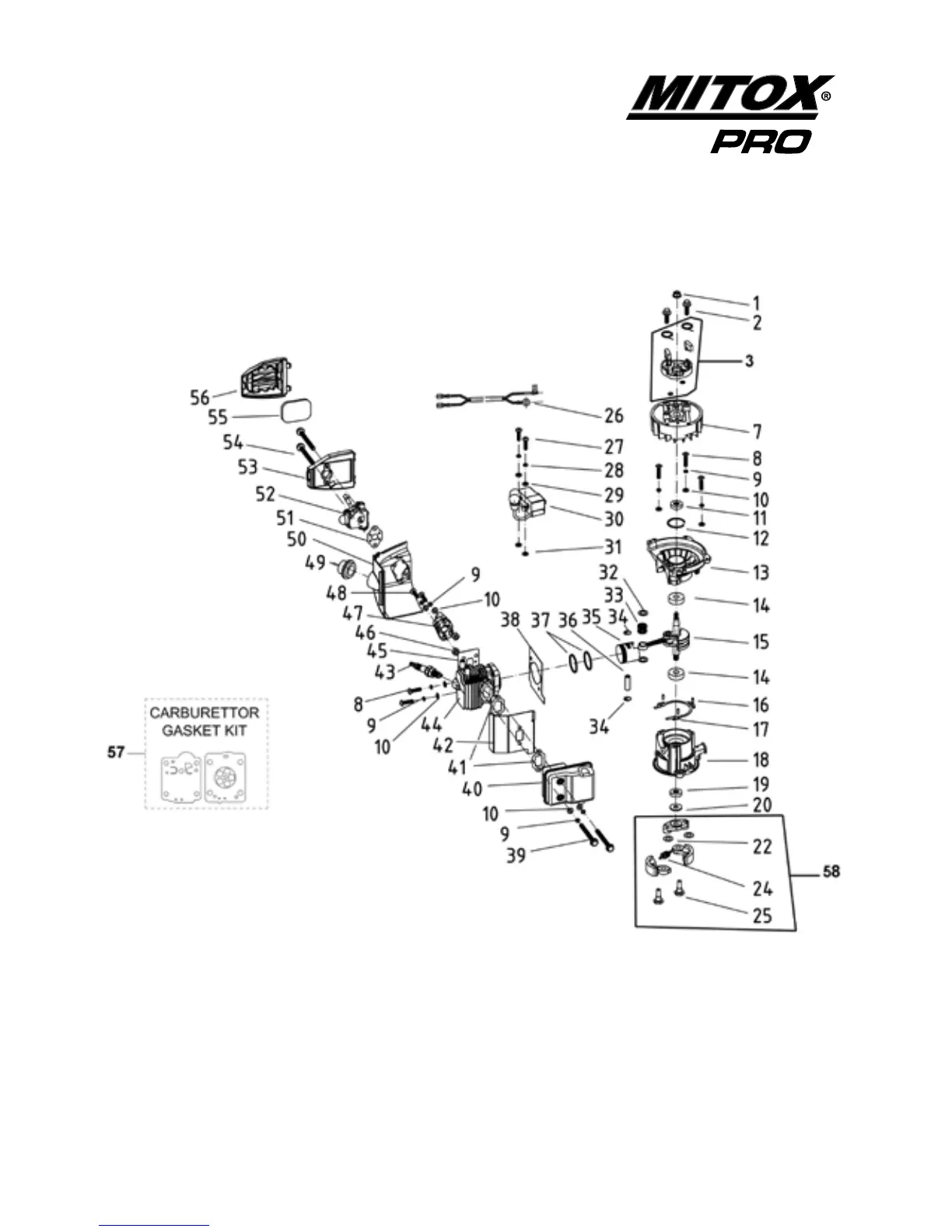
Parts - Engine Unit

Related product manuals