EasyManua.ls Logo

Mitsubishi Electric Q172CPUN - Page 205

Mitsubishi Electric Q172CPUN
234 pages
To Next Page IconTo Next Page
To Next Page IconTo Next Page
To Previous Page IconTo Previous Page
To Previous Page IconTo Previous Page
Loading...
App - 10
A
PPENDICES
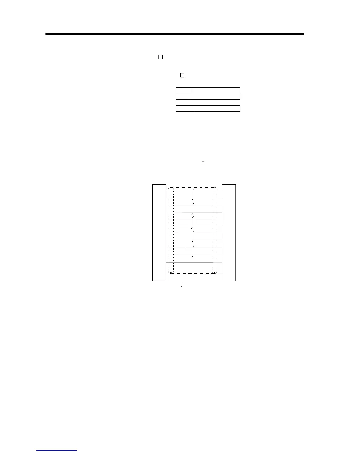
(h) MR-HBUS M
1) Model explanation
05
1
Symbol
5
0.5(1.64)
1(3.28)
5(16.40)
Type: MR-HBUS M
Cable length [m(ft.)]
2) Connection diagram
When fabricating a cable, use the recommended wire given on
APPENDIX 1.1, and make the cable as show in the following
connection diagram. The overall distance of SSCNET cables is
30m(98.43ft.).
LG
LG
RD
RD*
TD
TD*
EMG
EMG*
SD
BT
LG
LG
1
11
2
12
4
14
6
16
9
5
15
20
PCR-LS20LA1 (connector case)
PCR-S20FS (connector)
PCR-LS20LA1 (connector case)
PCR-S20FS (connector)
1
11
2
12
4
14
6
16
9
5
15
20
LG
LG
RD
RD*
TD
TD*
EMG
EMG*
SD
BT
LG
LG
MR-HBUS M
:Twisted pair cable

Table of Contents

Other manuals for Mitsubishi Electric Q172CPUN

Related product manuals