EasyManua.ls Logo

Mitsubishi Electric Q173DSCPU - Binary Operations; Substitution

Mitsubishi Electric Q173DSCPU
556 pages
To Next Page IconTo Next Page
To Next Page IconTo Next Page
To Previous Page IconTo Previous Page
To Previous Page IconTo Previous Page
Loading...
5 - 13
5 OPERATION CONTROL PROGRAMS
F/FS G
5.4 Binary Operations
5.4.1 Substitution : =
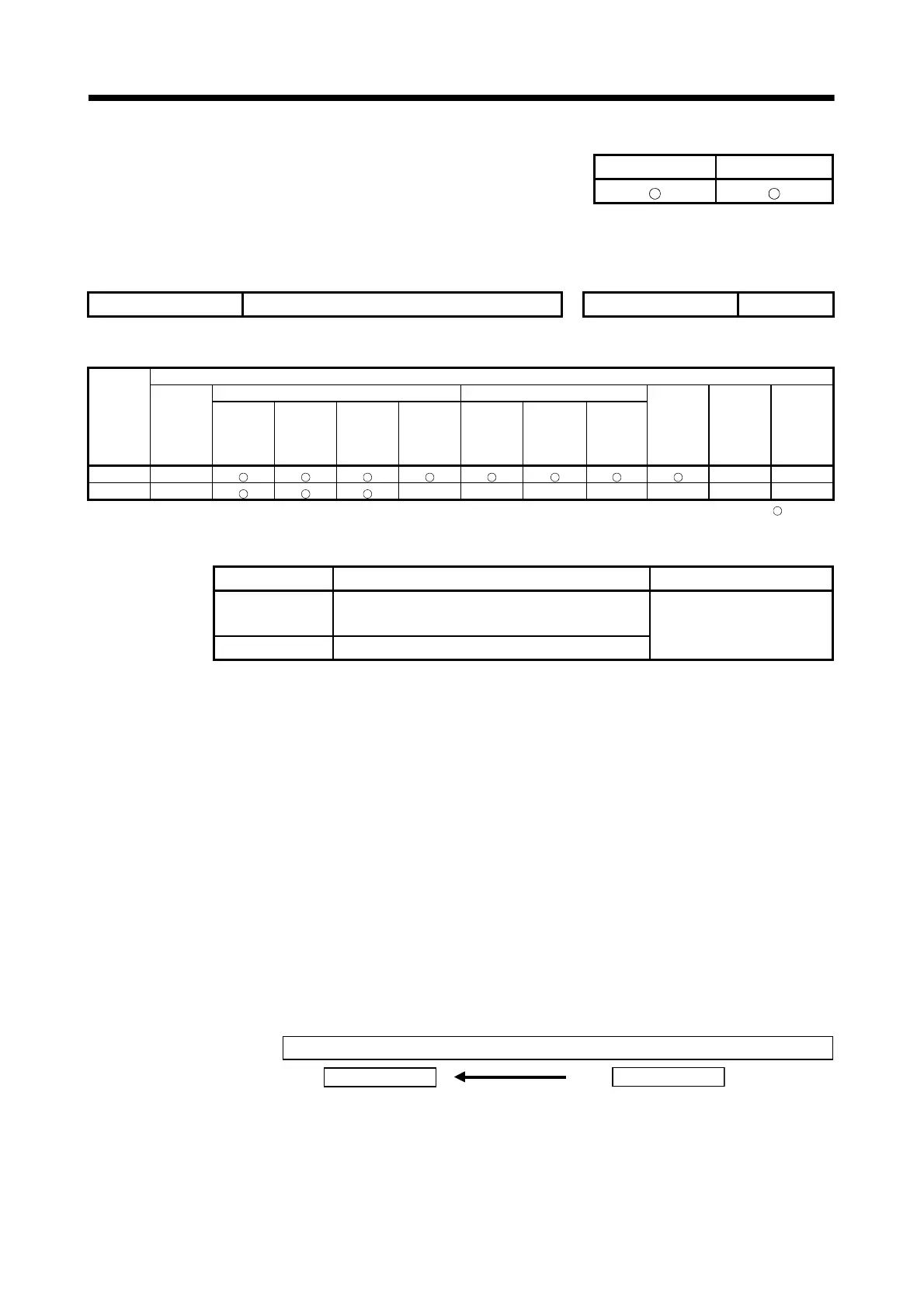
Format (D)=(S) Number of basic steps 4
[Usable data]
Setting
data
Usable Data
Bit device
Word device Constant
Calculation
expression
Bit
conditional
expression
Comparison
conditional
expression
16-bit
integer
type
32-bit
integer
type (L)
64-bit
floating
point
type (F)
Coasting
timer
16-bit
integer
type (K/H)
32-bit
integer type
(K/H, L)
64-bit
floating
point
type (K)
(S)
(D)
: Usable
[Setting data]
Setting data Description Data type of result
(S)
Word device/constant/calculation expression to be
substituted
Data type of (D)
(D) Word device which will store the operation result
[Functions]
(1) The data value specified with (S) is substituted to the specified word device at (D).
(2) When (S) and (D) differ in data type, the data at (S) is converted into the data type
of (D) and the resultant data is substituted.
(When (D) is a 16- or 32-bit integer type and (S) is a 64-bit floating-point type, the
fraction part of (S) is discarded.)
[Errors]
(1) An operation error will occur if:
• The data at (S) is outside the data type range of (D); or
• (D) or (S) is an indirectly specified device and its device No. is outside the
range.
[Program examples]
(1) Program which substitutes the D0 value to #0
#0 = D0
#0
123
D0
123

Table of Contents

Related product manuals