EasyManua.ls Logo

Mitsubishi Electric Q62DAN - Appendix 2 Dedicated Instruction List and Available Devices; (1) Dedicated instruction list

Mitsubishi Electric Q62DAN
192 pages
To Next Page IconTo Next Page
To Next Page IconTo Next Page
To Previous Page IconTo Previous Page
To Previous Page IconTo Previous Page
Loading...
App - 5 App - 5
MELSEC-Q
APPENDICES
Appendix 2 Dedicated Instruction List and Available Devices
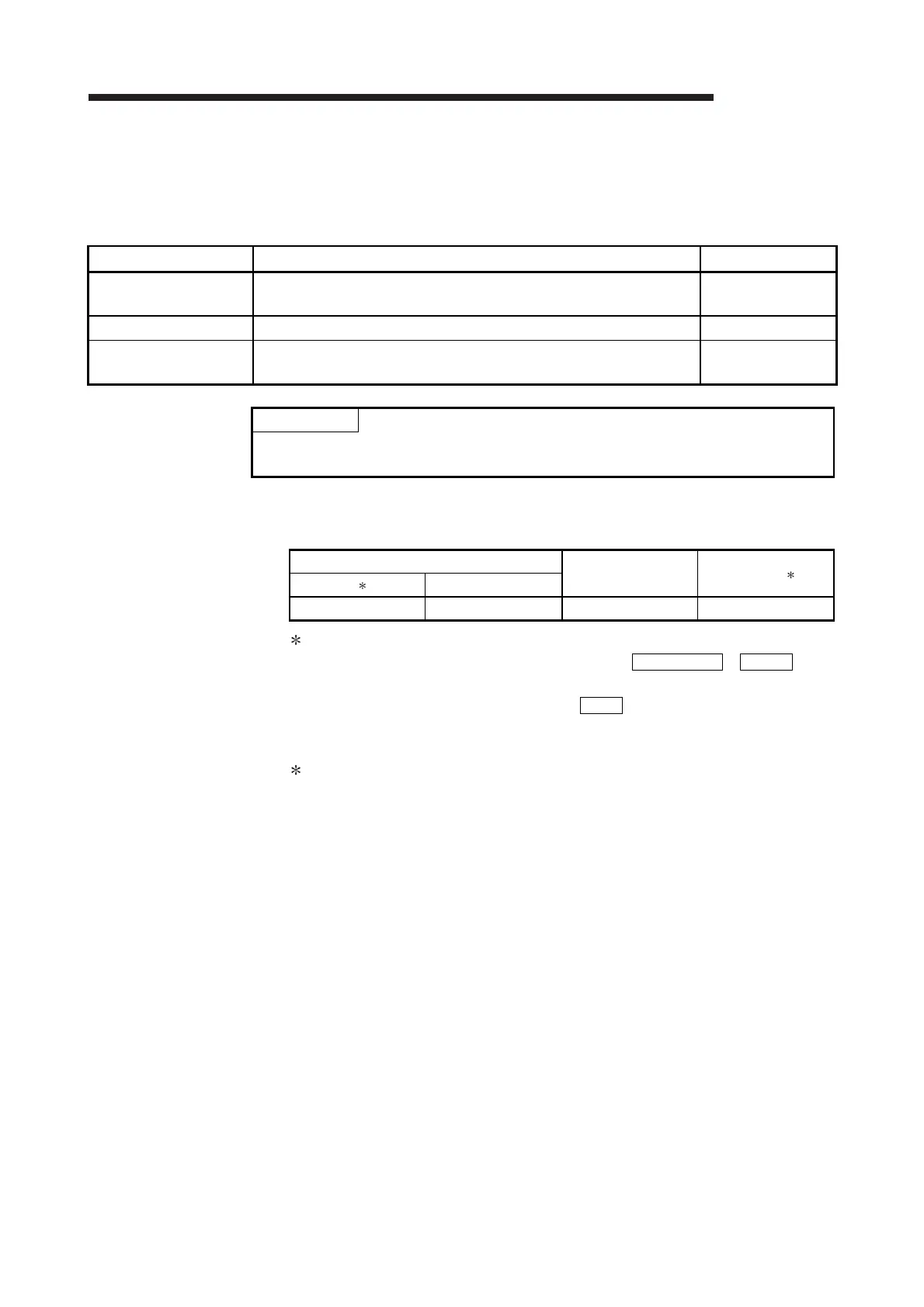
(1) Dedicated instruction list
The following table lists the dedicated instructions that can be used with the D/A
converter modules.
Instruction Description Reference section
G(P).OFFGAN
Switches to the offset/gain setting mode.
Switches to the normal mode.
Appendix 2.1
G(P).OGLOAD Reads the offset/gain values of the user range setting to the CPU. Appendix 2.2
G(P).OGSTOR
Restores the offset/gain values of the user range setting stored in the
CPU to the D/A converter module.
Appendix 2.3
POINT
When the module is mounted to a MELSECNET/H remote station, the dedicated
instructions cannot be used.
(2) Available devices
The following devices are available for the dedicated instructions:
Internal devices
File register Constant
2
Bit
1
Word
X, Y, M, L, F, V, B T, ST, C, D, W R, ZR K, H
1: Word device bit designation can be used as bit data.
Word device bit designation is done by designating Word device . Bit No. .
(Designation of bit numbers is done in hexadecimal.)
For example, bit 10 of D0 is designated as D0.A .
However, there can be no bit designation for timers (T), retentive timers (ST) and
counters (C).
2: Available devices are given in each of the Constant field.

Table of Contents

Related product manuals