EasyManua.ls Logo

Mitsubishi MR-JE-70B - Page 76

Mitsubishi MR-JE-70B
294 pages
To Next Page IconTo Next Page
To Next Page IconTo Next Page
To Previous Page IconTo Previous Page
To Previous Page IconTo Previous Page
Loading...
3. SIGNALS AND WIRING
3 - 41
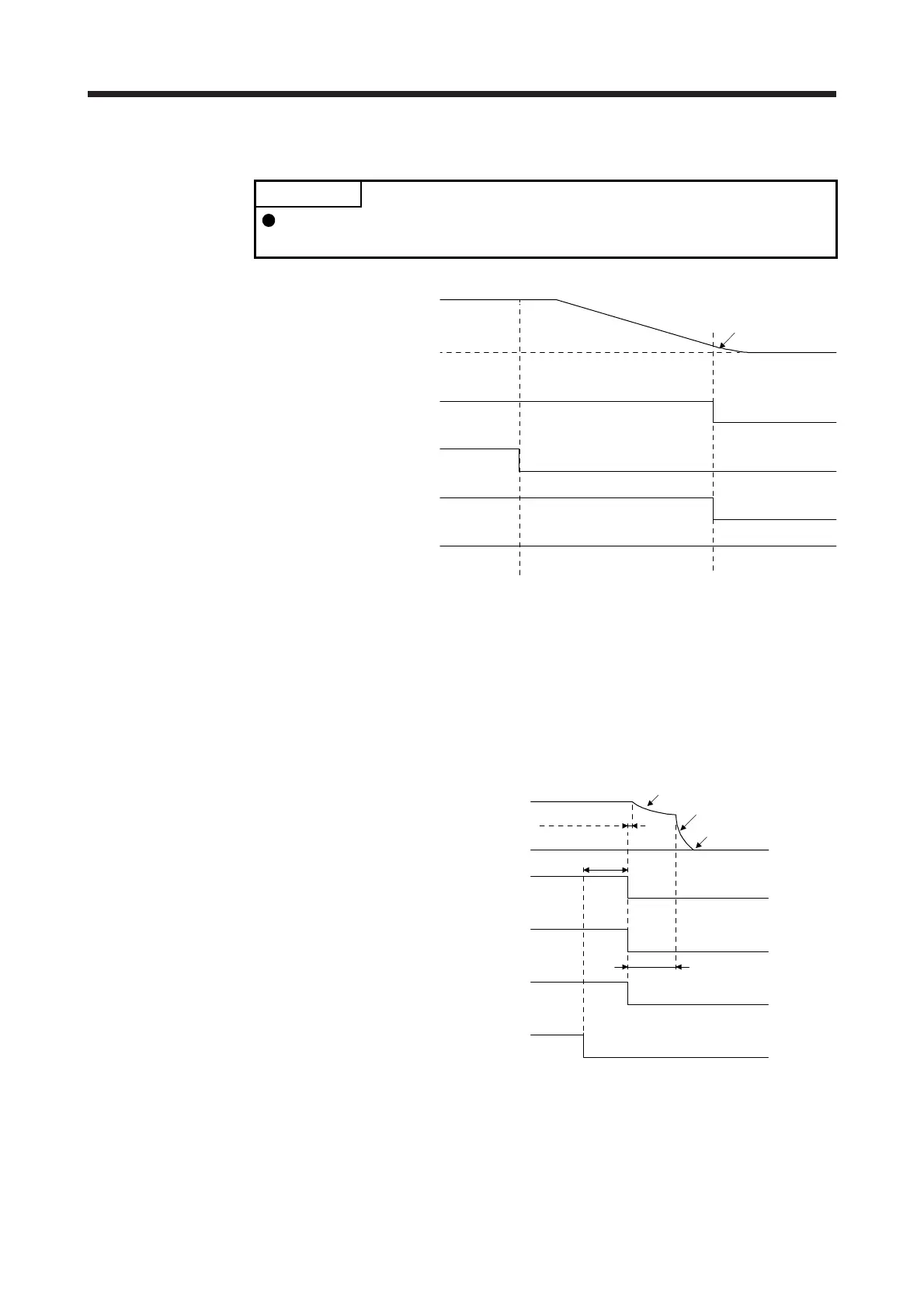
(b) Off/on of the forced stop command (from controller) or EM2 (Forced stop 2)
POINT
In the torque control mode, the forced stop deceleration function cannot be
used.
ON
ON
OFF
(Note 2)
Model speed command 0
and equal to or less than
zero speed
ON (disabled)
OFF (enabled)
OFF
Forced stop command
(from controller) or EM2
(Forced stop 2)
MBR
(Electromagnetic
brake interlock)
ON (no alarm)
OFF (alarm)
Base circuit
(Energy supply to
the servo motor)
0 r/min
Servo motor speed
A
LM (Malfunction)
(Note 1)
Note 1. ON: The electromagnetic brake is not activated.
OFF: The electromagnetic brake is activated.
2. The model speed command is a speed command generated in the servo amplifier for forced stop
deceleration of the servo motor.
(c) Alarm occurrence
The operation status during an alarm is the same as section 3.7.
(d) Power off
MBR
(Electromagnetic
brake interlock)
(Note 2)
ON
OFF
Base circuit
ON
OFF
Alarm
[AL. 10 Undervoltage]
No alarm
Alarm
Approx. 10 ms
Dynamic brake
Dynamic brake
+ Electromagnetic brake
Electromagnetic brake
(Note 1)
Operation delay time of
the electromagnetic brake
Servo motor speed
ON
OFF
Power supply
0 r/min
Note 1. Variable according to the operation status.
2. ON: The electromagnetic brake is not activated.
OFF: The electromagnetic brake is activated.

Table of Contents

Related product manuals