EasyManua.ls Logo

Mityvac MV7400 - Page 12

Mityvac MV7400
16 pages
Print Icon
To Next Page IconTo Next Page
To Next Page IconTo Next Page
To Previous Page IconTo Previous Page
To Previous Page IconTo Previous Page
Loading...
Page Number - 12
Form 824556
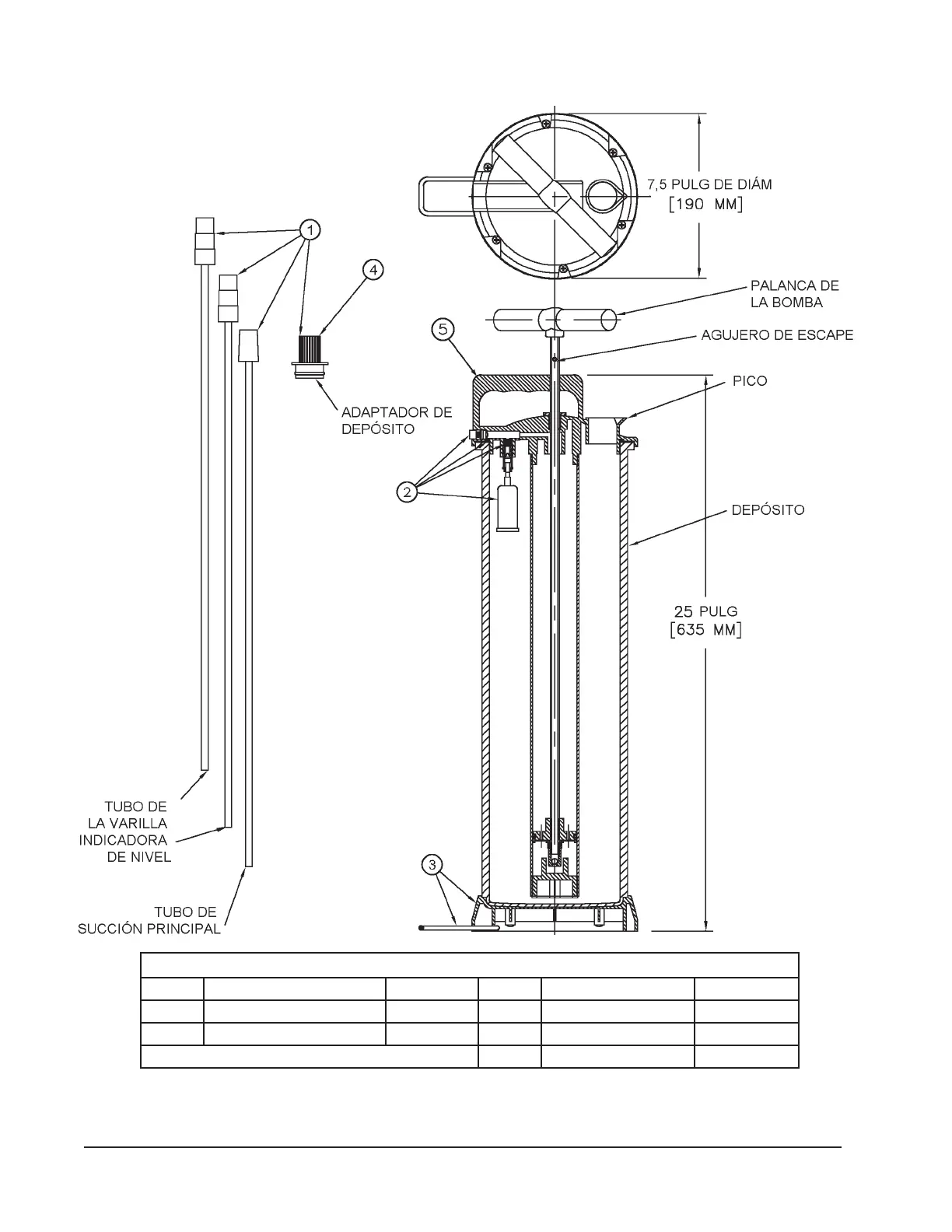
Piezas de repuesto y juegos del modelo MV7400
Comp. Descripción No. de pieza Comp. Descripción No. de pieza
1 Juego de tubo de vacío 822599 3 Juego de base* 822606
2 Juego de otador y válvula 822604 4 Adaptador de plástico 822597
* Consta de base y soporte de pie 5 Tapa Del Evacuador 822823