EasyManua.ls Logo

Mityvac MV7400 - Page 2

Mityvac MV7400
16 pages
Print Icon
To Next Page IconTo Next Page
To Next Page IconTo Next Page
To Previous Page IconTo Previous Page
To Previous Page IconTo Previous Page
Loading...
Page Number - 2
Form 824556
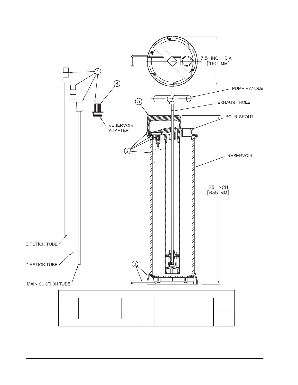
Model MV7400 Service Items
Item Description Part No. Item Description Part No.
1 Vacuum tube Kit 822599 3 Base Kit * 822606
2 Float and Valve Kit 822604 4 Plastic Adapter 822597
* Consists of base and foot bracket 5 Evacuator Top with Gasket 822832