EasyManua.ls Logo

Mityvac MV7400 - Page 7

Mityvac MV7400
16 pages
Print Icon
To Next Page IconTo Next Page
To Next Page IconTo Next Page
To Previous Page IconTo Previous Page
To Previous Page IconTo Previous Page
Loading...
Page Number - 7
Form 824556
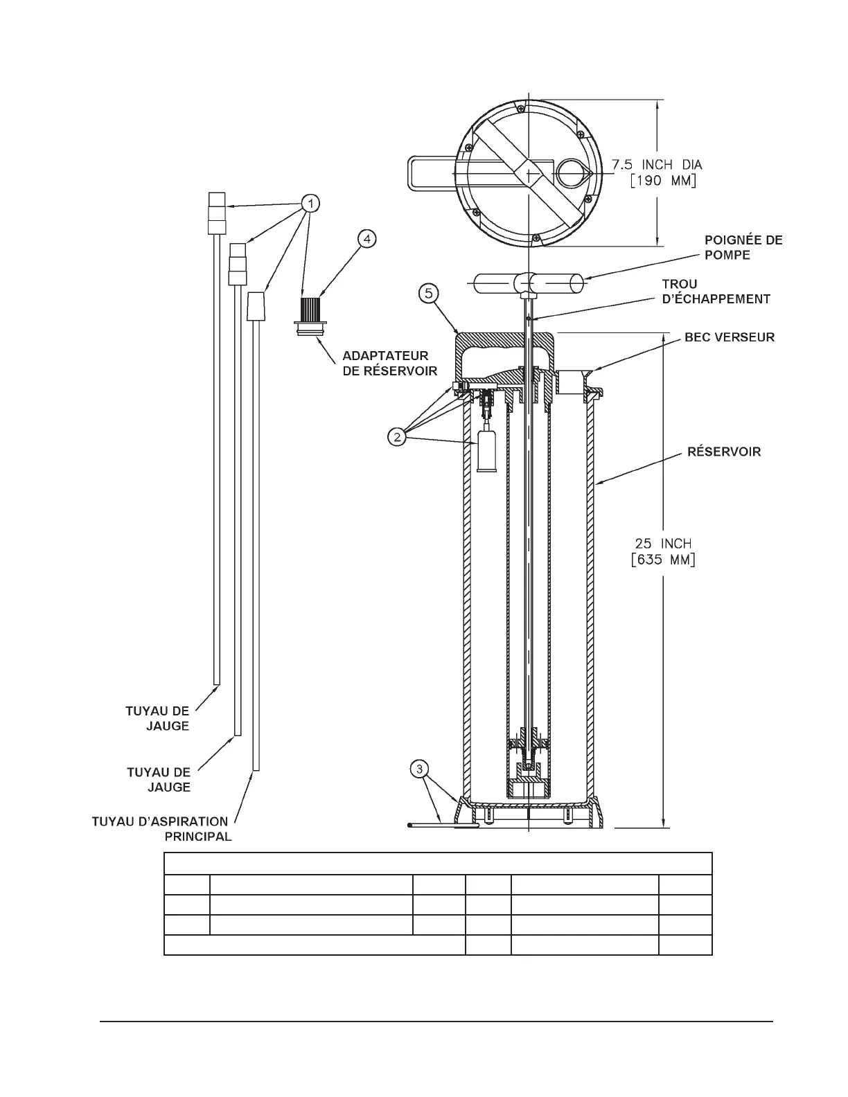
Pièces et nécessaires d’entretien du modèle MV7400
Article Description N° réf Article Description N° réf
1 Nécessaire de tuyau d’aspiration 822599 3 Kit de support* 822606
2 Kit de otteur et soupape 822604 4 Adaptateur en plastique 822597
* Se compose d’une base et d’un support de pied 5 Dessus D’Évacuateur 822823