EasyManua.ls Logo

Moffat 20 - Page 38

Moffat 20
48 pages
Print Icon
To Next Page IconTo Next Page
To Next Page IconTo Next Page
To Previous Page IconTo Previous Page
To Previous Page IconTo Previous Page
Loading...
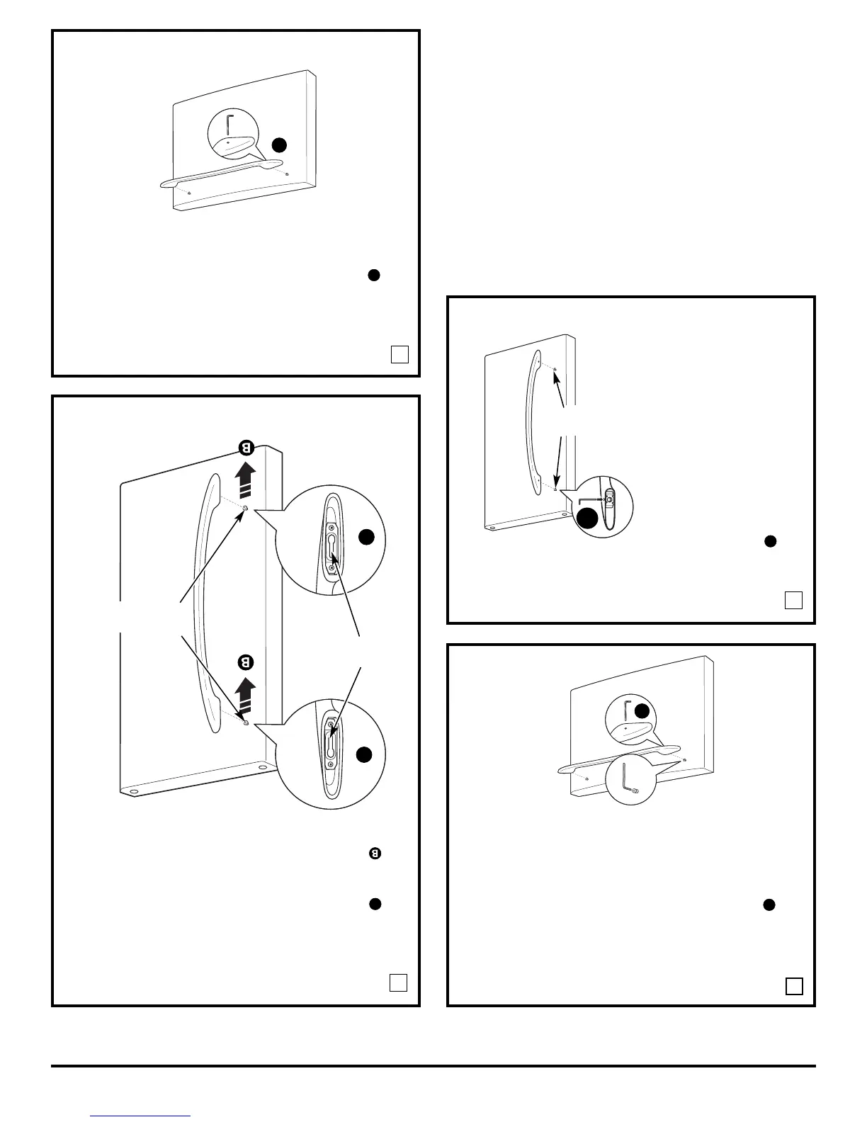
Instructions d’installation
ENLEVEZ LA POIGNÉE DE LA PORTE
DU COMPARTIMENT CONGÉLATION
Poignées en acier inoxydable et en matière
plastique :
Desserrez les vis de l’ensemble situées en bas
de la poignée à l’aide de la clé Allen de 1/8 po
et enlevez la poignée.
NOTE : Si vous devez resserrer ou enlever
les fixations de montage de la poignée,
utilisez la clé Allen de 3/16 po.
A
5
A
FIXEZ LA POIGNÉE DE LA PORTE
DU COMPARTIMENT ALIMENTS FRAIS
Poignée en acier inoxydable :
Fixez la poignée
aux fixations
de montage
de la poignée et
resserrez les vis
de l’ensemble
à l’aide d’une clé
Allen de 3/32 po.
NOTE : Pour les
modèles à deux
portes, suivez
la même
procédure
pour la porte
opposée.
A
6
A
Fixations
de montage
(l’aspect peut varier)
FIXEZ LA POIGNÉE DE LA PORTE
DU COMPARTIMENT ALIMENTS FRAIS
(suite)
Poignée en matière plastique :
Fixez la poignée aux fixations de montage
de la poignée en alignant les fentes
aux fixations de montage de poignée.
Faites glisser la poignée vers le bas jusqu’à
ce qu’elle soit bien fixée en position.
A
6
(l’aspect peut varier)
Fixations
de montage
Trous à l’arrière
de la poignée
A
A
A
FIXEZ LA POIGNÉE DE LA PORTE
DU COMPARTIMENT CONGÉLATION
Poignées en acier inoxydable et en matière
plastique :
Fixez bien la poignée aux fixations
de montage de la poignée et resserrez les vis
de l’ensemble situées en bas de la poignée
à l’aide d’une clé Allen de 1/8 po.
A
A
(l’aspect peut varier)
7
11

Related product manuals