EasyManua.ls Logo

Mohawk TP-18 - Page 36

Mohawk TP-18
76 pages
Print Icon
To Next Page IconTo Next Page
To Next Page IconTo Next Page
To Previous Page IconTo Previous Page
To Previous Page IconTo Previous Page
Loading...
MOHAWK MODEL LMF-12, TP-15,TP-16 & TP-18
29
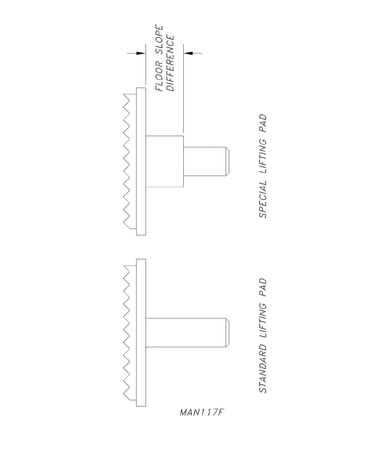
Figure 10

Related product manuals