EasyManua.ls Logo

Mohawk TP-18 - Page 46

Mohawk TP-18
76 pages
Print Icon
To Next Page IconTo Next Page
To Next Page IconTo Next Page
To Previous Page IconTo Previous Page
To Previous Page IconTo Previous Page
Loading...
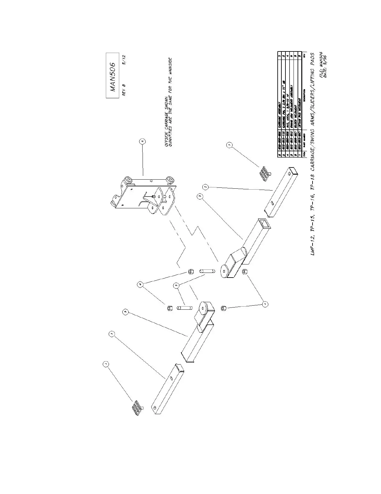
MOHAWK MODEL LMF-12, TP-15,TP-16 & TP-18
39

Related product manuals