EasyManua.ls Logo

Monaco Executive 2001 - LP-Gas Consumption and Distribution

Default Icon
269 pages
Print Icon
To Next Page IconTo Next Page
To Next Page IconTo Next Page
To Previous Page IconTo Previous Page
To Previous Page IconTo Previous Page
Loading...
• Contact a qualified service technician to find the source and repair
the gas leak.
WARNING: A fire or explosion from ignited gas or gas fumes
can seriously injure you or cause death.
---------------------------------------------------------------------------------------------------------------------------------------------------------------------------------------------------
Each gallon of LP-Gas produces approximately 92,000 BTU’s of heat. One
27 gallon tank produces two million BTU’s. Total consumption depends on the
rate of usage by each appliance and the operating time. The stove and heating
systems typically use the most gas. With sub-freezing temperatures and high
winds, consumption by the furnace can be very high. Check the tank level
often in cold weather.
---------------------------------------------------------------------------------------------------------------------------------------------------------------------------------------------------
A primary manifold black steel pipe running throughout the motorhome dis-
tributes LP-Gas to secondary lines. All secondary lines leading to gas appli-
ances are made of copper tubing with flared fittings. If any lines rupture, do not
attempt to splice them. Always run a new line. We recommend gas distribution
work be performed by an authorized dealer or an authorized service technician.
When removing or servicing any gas appliance, manually close the main valve
located on the side of the LP-Gas tank. This will prevent dangerous gas leakage
that could result in an explosion and possible serious injury. If you suspect a
gas leak, get the system inspected and repaired by a qualified service technician
as soon as possible.
--------------------------------------------------------------------------------------------------------------------------------------------------------------------------------------------------
Woodall’s Campground and Trailer Guide and
other publications list refueling stations. Many
travel parks sell LP-Gas. Shut off the pilot lights,
appliances and igniters before filling the LP-Gas
tank to prevent a fire or explosion. Have a trained
service person fill the LP-Gas tank.
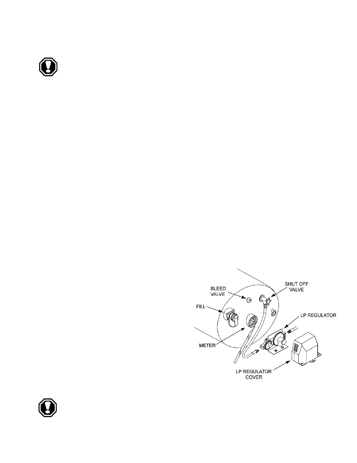
The LP-Gas tank fill and bleed valves are
located in the LP-Gas tank access outside compart-
ment. Caution the service technician, if your tank is
new and being filled for the first time, to purge any
air from the tank before filling. When the tank is
filled to the proper level there is space available for
the conversion of liquid into gas. If a tank is over-
filled it may vent pressure. When this happens you
may detect a strong rotten egg odor near the tank
and/or hear a hissing noise.
WARNING: Turn off all pilot lights and appliances during the refueling of the
motorhome and filling the LP-Gas tank to prevent a fire or explosion.
Water & LP-Gas Systems
--------------------------------------------------------------------------------------------------------------------------------------------------------------------------------------------------------------------------------------------------------------------------------------------------------------------
EXECUTIVE 4•124
LP-Gas
Consumption
LP-Gas
Distribution Lines
LP-GAS TANK
LP-Gas Tank

Related product manuals