EasyManua.ls Logo

Monogram 15900-012 - Page 72

Monogram 15900-012
89 pages
Print Icon
To Next Page IconTo Next Page
To Next Page IconTo Next Page
To Previous Page IconTo Previous Page
To Previous Page IconTo Previous Page
Loading...
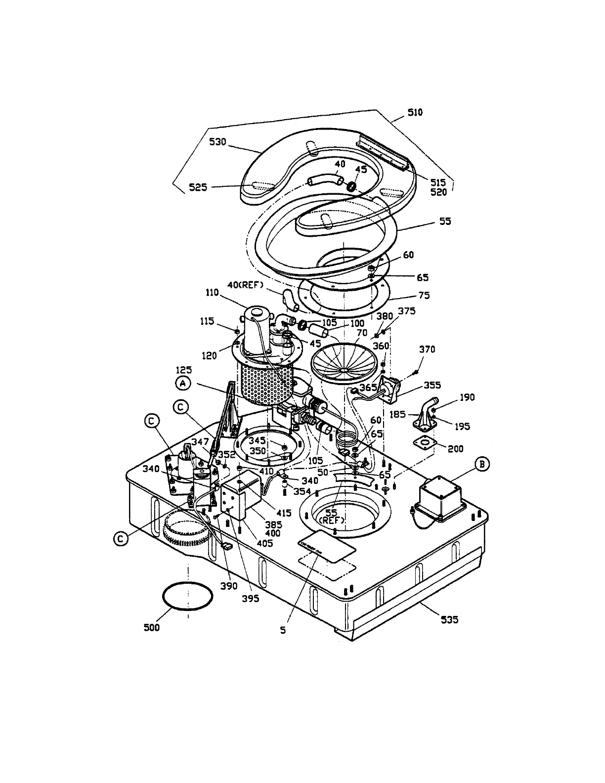
38-31-07
Monogram Sanitation
COMPONENT MAINTENANCE MANUAL
PN 15900-012 Series
Jan 10/95
Page 1015
Toilet Assembly
IPL Figure 1 (Sheet 1 of 2)

Related product manuals