EasyManua.ls Logo

Mora VDP646X5 - Page 9

Mora VDP646X5
20 pages
Print Icon
To Next Page IconTo Next Page
To Next Page IconTo Next Page
To Previous Page IconTo Previous Page
To Previous Page IconTo Previous Page
Loading...
8
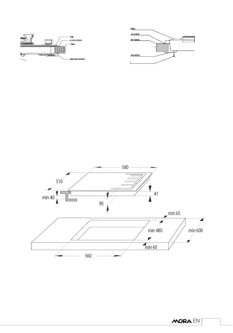
1. Glass 5. Upper Tray
2.Silicon Seal 6.Silicon Seal
3.Tray 7.Counter Surface
4.Connection Element 8.Connection Clips
9.Screw
The range is equipped with a seal to prevent the liquids through the
cavities into the cabinet. In order to place this seal, adhere the seal as
shown in the figures above. Turn the range upside down and remove the
protective tape of the rubber seal and adhere it to the range; both ends of
the seal should meet each other. Install the mounting sheets as shown in
figure 5 by help of screw. And place the range in the opening on the
counter.
Appliance dimensions
Figure 6
Figure 7
1
2
3
4
5
6
7
8
9
VDP645X
5