EasyManua.ls Logo

Movement RT150 - Page 148

Movement RT150
Print Icon
To Next Page IconTo Next Page
To Next Page IconTo Next Page
To Previous Page IconTo Previous Page
To Previous Page IconTo Previous Page
Loading...
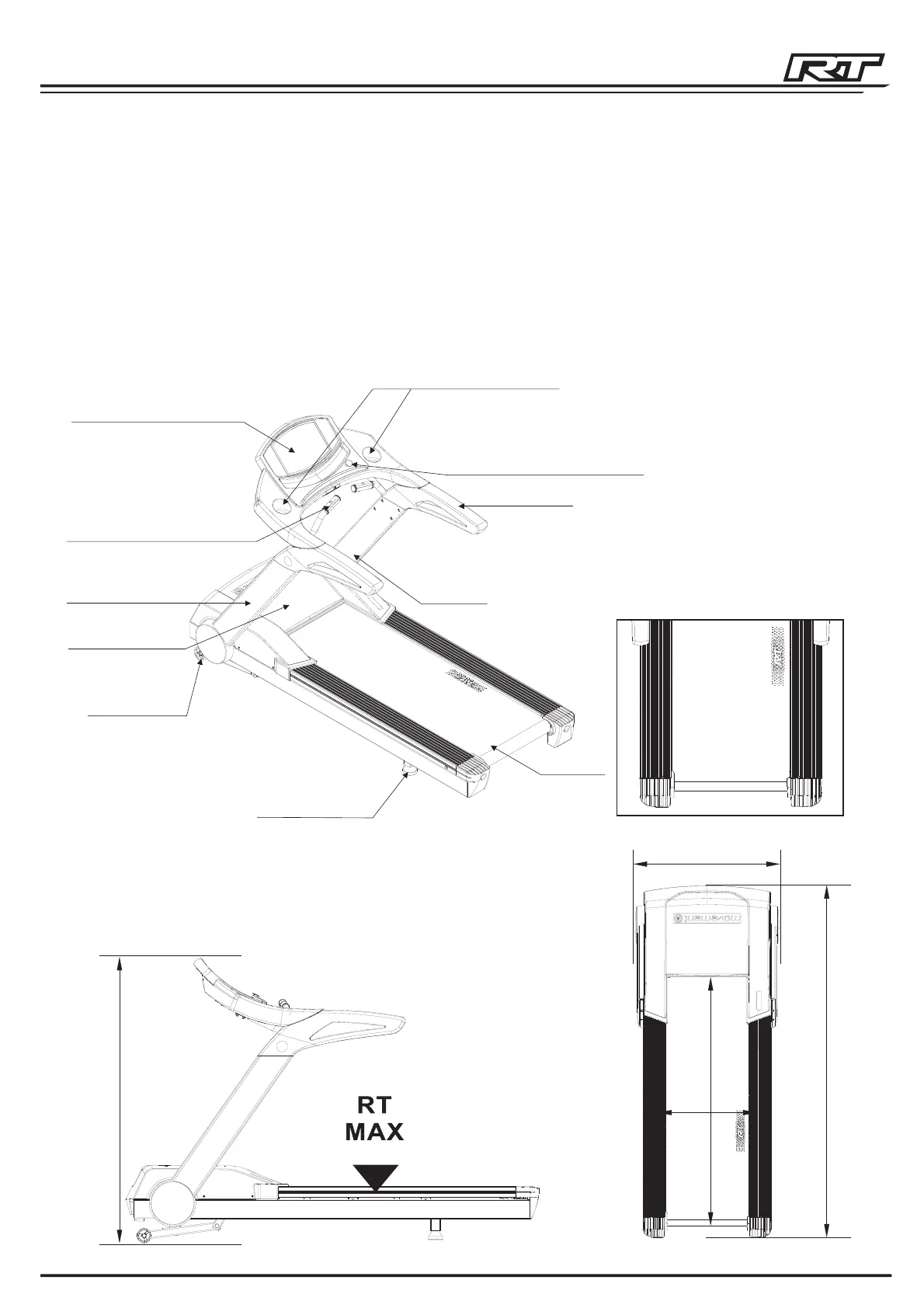
CONOCIENDO EL EQUIPO
OBJETIVO
Una caminadora ergonómica está destinada al entrenamiento y condicionamiento físico del
usuario a través de la utilización de un piso deslizante. Posee motor eléctrico, inclinación
ajustada por el usuario y modos de entrenamiento predeterminados para la ejecución de una
gama de ejercicios diferenciados enfocados a la fuerza y al acondicionamiento físico.
Este equipo está compuesto por los siguiente componentes principales:
146,1 cm
212,3 cm
87 cm
150,2 cm
50 cm
Módulo electrónico
Corrimão
Lona
Porta Botella de agua/
Porta Objetos
Columna
Columna
Carenado
Ruedas de
transporte
Pie Regulable
Sistema de
inclinación
Plataforma
150kg
Sensor de ritmo
cardíaco
14
Botón de Emergencia

Related product manuals