EasyManua.ls Logo

MSI IMMERSE GH50 WIRELESS - Page 29

MSI IMMERSE GH50 WIRELESS
118 pages
Print Icon
To Next Page IconTo Next Page
To Next Page IconTo Next Page
To Previous Page IconTo Previous Page
To Previous Page IconTo Previous Page
Loading...
26 27
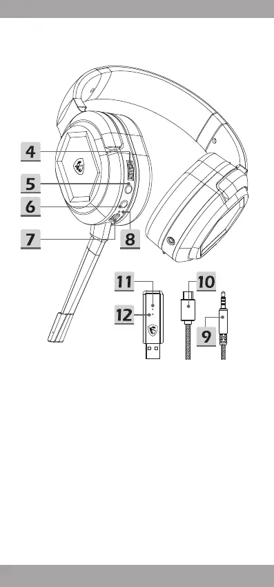
4� Điều khiển Âm lượng
5� Nút tắt micrô / ghép nối
6� Nút nguồn
7� Cổng sạc (USB-C)
8� Đèn báo trạng thái sạc
9� Cáp âm thanh 3,5 mm
10� Cáp sạc
11� Đèn báo trạng thái truyền phát
12� Nút ghép nối bộ truyền phát

Related product manuals