EasyManua.ls Logo

MSI IMMERSE GH50 WIRELESS - Page 69

MSI IMMERSE GH50 WIRELESS
118 pages
Print Icon
To Next Page IconTo Next Page
To Next Page IconTo Next Page
To Previous Page IconTo Previous Page
To Previous Page IconTo Previous Page
Loading...
66 67
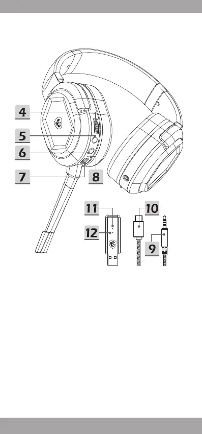
4� Управление на звука
5� Бутон за спиране на микрофона / сдвояване
6� Бутон за захранване
7� Порт за зареждане (USB-C)
8� Индикатор за състоянието на зареждане
9� Аудиокабел 3,5 mm
10� Кабел за зареждане
11� Индикатор за състоянието на предаване
12� Бутон за сдвояване с предавател

Related product manuals